车床开合螺母结构图

按图7试述开合螺母的结构及其调整方法.
图片尺寸400x285
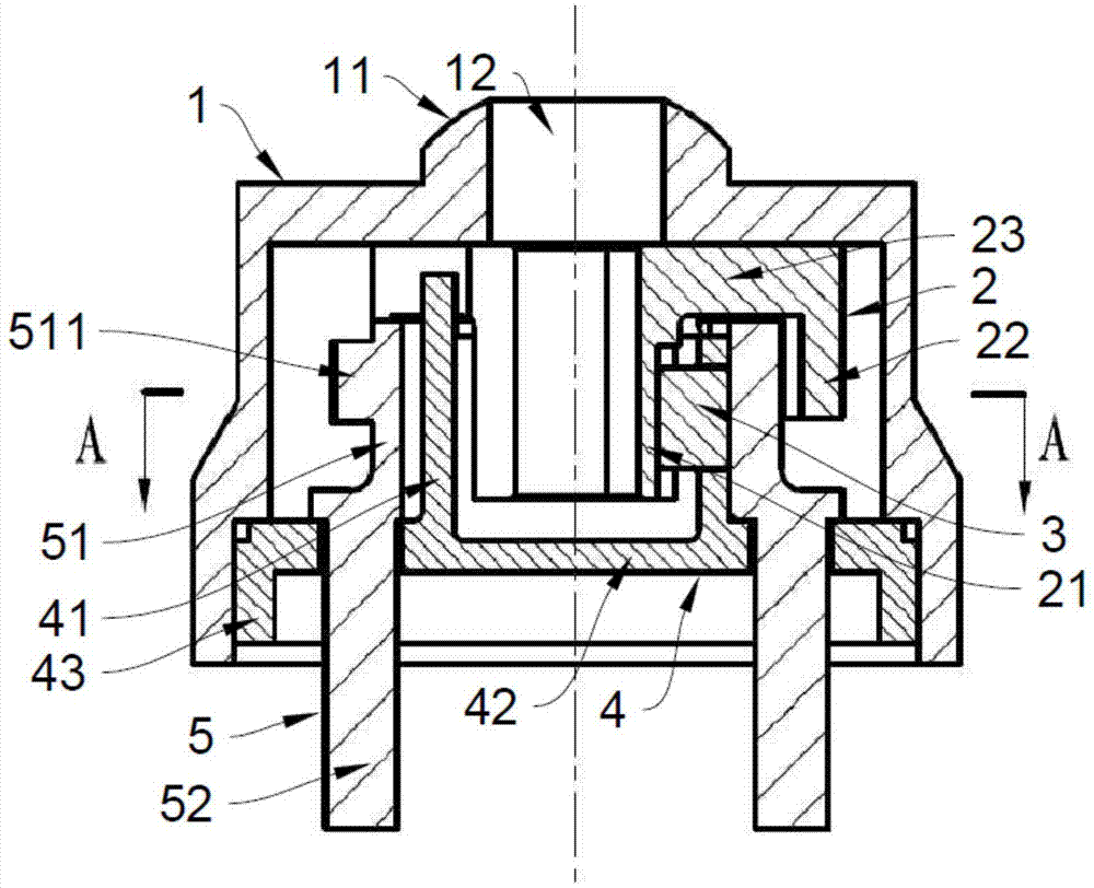
一种开合螺母
图片尺寸1438x1004
车床 优质回答 图8-21所示为电解平面磨床纵向自动进给丝杠的开合螺母
图片尺寸2770x1982
开合螺母零件图-a4
图片尺寸1727x1177
可自锁的高效开合螺母的制作方法
图片尺寸869x1000
基于solidworks车床夹具虚拟设计【开合螺母】【说明书 cad】
图片尺寸1200x800
开合螺母机械结构
图片尺寸641x360
系列动画之二十四车床丝杠用开合螺母结构及动画
图片尺寸963x531
六角螺母
图片尺寸1024x591
卧式车床部件
图片尺寸1299x694
系列动画之二十四车床丝杠用开合螺母结构及动画
图片尺寸640x360
ca6140开合螺母加工工艺及钻m6钻螺纹底孔钻床夹具设计[含高清cad图纸
图片尺寸1200x800
1所示,ca6140车床开合螺母零件在本工序 中需精镗mm孔及车端面.
图片尺寸1080x810
qib/ind lks 不锈钢开槽自锁压铆螺母
图片尺寸2245x1387
精密锁紧螺母:相关图像
图片尺寸892x340
防松螺母制造技术
图片尺寸857x1000
一种分离螺母
图片尺寸1000x812
自动车床件,法兰螺母,压紧螺母,堵头,不锈钢304五金螺丝
图片尺寸756x429
螺母 零件图
图片尺寸751x605
一种灰铸铁开合螺母建模制造及φ40mm孔车削夹具设计
图片尺寸703x508