车床溜板箱结构图

c620溜板箱装配图pdf
图片尺寸920x650
c6150机床溜板箱2.pdf_第1页
图片尺寸920x650
小型车床溜板箱机动进给机构-爱企查
图片尺寸878x927
卧式车床新型溜板箱的设计.pdf
图片尺寸792x1107
毕业设计ca6140车床溜板箱的加工工艺分析
图片尺寸607x449
主轴箱 变速手柄 卡盘 刀架 拖板 尾架 床身 切屑盘 进给箱 溜板箱
图片尺寸1080x810
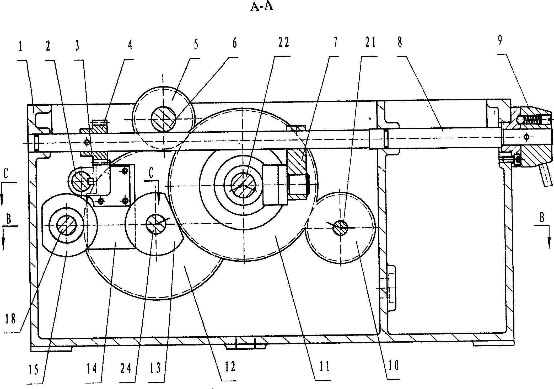
双杆机床溜板箱装置
图片尺寸2113x1834
小型车床溜板箱
图片尺寸585x535
cn201446443u_卧式车床溜板箱进给机构失效
图片尺寸800x1158
溜板箱总成
图片尺寸820x545
溜板箱装配图
图片尺寸820x578
具有安全互锁装置的车床溜板箱
图片尺寸2113x1484
谁有车床c6140溜板箱的装配图啊您所需要的一切尽在中国机械cad论坛
图片尺寸658x440
ca6140车床溜板箱
图片尺寸300x225
车床溜板箱整体装配图
图片尺寸726x511
小型车床溜板箱
图片尺寸820x629
图2-5是ca6140型车床溜板箱传动系统图,计算刀架纵,横向快速移动的
图片尺寸400x258
车床溜板箱整体装配图
图片尺寸820x488
机械毕业设计-cw6163普通车床溜板箱工艺及工装设计
图片尺寸659x496
ca6140原装溜板箱装备图
图片尺寸800x500