车载充电器构造

吉利帝豪ev车载充电机原理与维修
图片尺寸700x532
方便看导航顺便充电市售33款车载无线充电器拆解汇总
图片尺寸640x427
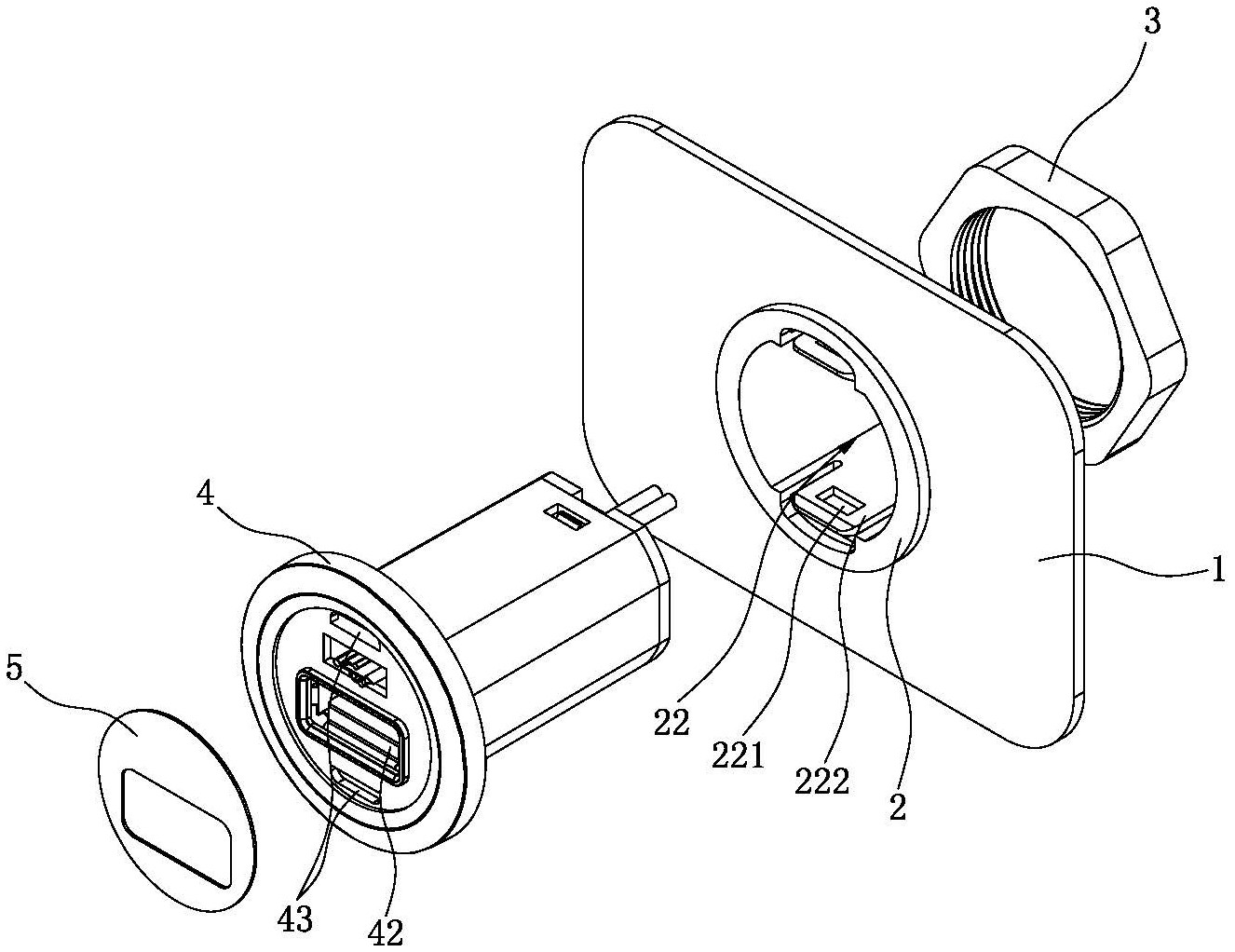
一种车载usb充电器安装结构-爱企查
图片尺寸1326x1022
为自家新车做准备?小米新款43w双口车载充电器拆解
图片尺寸660x440
方便看导航顺便充电,市售33款车载无线充电器拆解汇总
图片尺寸1152x768
1a输出车充小蛮腰鸭嘴双usb充电器oem厂商制造
图片尺寸750x1060
高压线束,交流充电口,车载充电器,高压配电箱,动力电池包,电池管理器
图片尺寸579x348
倍思 车载充电器头车充点烟器一拖二快充汽车usb接口多功能万能型
图片尺寸790x1188
一种改良的车载充电器-爱企查
图片尺寸438x335
车载充电器 迷你单usb汽车充电器子弹头车充 通用车充 彩色车充
图片尺寸750x622
详解车载充电器结构及工作原理
图片尺寸600x380
一种跑马显示充电状态的车载充电器的制作方法
图片尺寸848x1000
方便看导航顺便充电,市售33款车载无线充电器拆解汇总
图片尺寸1200x675
电动汽车充电技术充电接口
图片尺寸1525x907
拆解报告:绿联mfm认证车载磁吸无线充电器
图片尺寸700x467
几款电动车的充电器
图片尺寸800x800
小米车载充电器故障 小米车载充电器烧保险
图片尺寸800x565
江淮iev4充电枪简单维修
图片尺寸1263x769
车载充电器也是从正面开始拆解,顶部的皮质装饰面板通过卡扣固定,撬开
图片尺寸943x629
原装hankook韩酷导航仪车载充电器 9-36v小车大货车汽车降压线 5v1.
图片尺寸1250x833