轧机结构

如下图400轧机为例:(本轧机由本公司独立设计)轧钢机主要包括工作机座
图片尺寸600x290
短应力线轧机ppt
图片尺寸800x600
二辊轧机结构简单,用途广泛.它分为可逆式和不可逆式.
图片尺寸859x504
摘 要:针对 6 辊轧机和 18 辊轧机在结构形式,操作维护,适用范围等
图片尺寸640x553
短应力线轧机-爱企查
图片尺寸1471x1800
轧机,成型机
图片尺寸512x636
cn1109390a_辊组交叉轧制的四辊轧机失效
图片尺寸1824x2362
技术20辊轧机基础知识汇编
图片尺寸563x349
cn101549354b_一种六辊轧机有效
图片尺寸1828x2513
压轧机
图片尺寸538x330
750mm热轧全线轧机在线间隙检测及修复解决轧机间隙超差问题
图片尺寸1006x562
万能式轧机 图2-5 万能式轧机轧制过程示意图 图2-6 v-h轧机的精轧机
图片尺寸1080x810
热连轧精轧机结构组成及工作原理概述ppt
图片尺寸1080x810
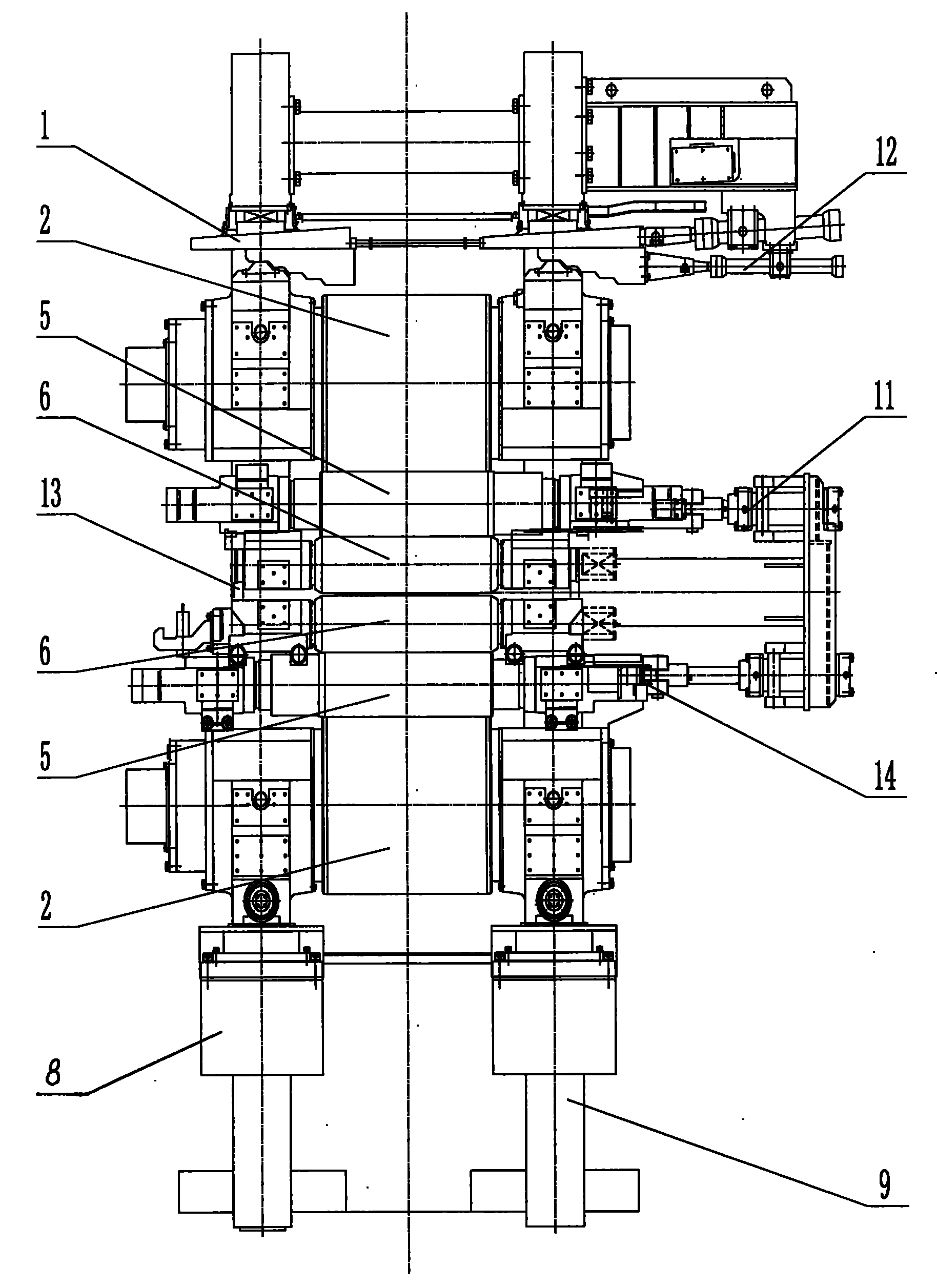
四辊带钢轧机总图
图片尺寸686x508
热连轧精轧机结构组成及工作原理概述ppt
图片尺寸1080x810
1.轧机分类
图片尺寸618x285
一个入职两年半的轧钢技术员年轻的榜样
图片尺寸1080x764
进口棒材轧机万向传动轴托架轴承座修复,轧机轴承技术(124)
图片尺寸548x401
工程科技 机械/仪表 第15组短应力线轧机ppt 短应力线轧机的结构 蜗轮
图片尺寸1080x810
轧机轧钢机
图片尺寸285x339