转动限位结构

一种旋转限位装置
图片尺寸1000x899
一种旋转限位装置制造方法及图纸
图片尺寸1000x902
cn202409974u_一种漫步机摆腿旋转限位机构失效
图片尺寸1689x1878
cn204805501u_一种齿圈旋转限位机构失效
图片尺寸1597x1502
cn102566653a_一种转角范围超过360度的小型转台限位机构有效
图片尺寸1065x1169
一种限位转动结构制造技术
图片尺寸1000x903
一种限位转动结构的制作方法
图片尺寸1000x997
限位机构,包括翻转座,可转动地设置在翻转座上的工作台以及用以驱动
图片尺寸970x1000
cn205208069u_中大型监控转台俯仰角度转动限位结构有效
图片尺寸847x883
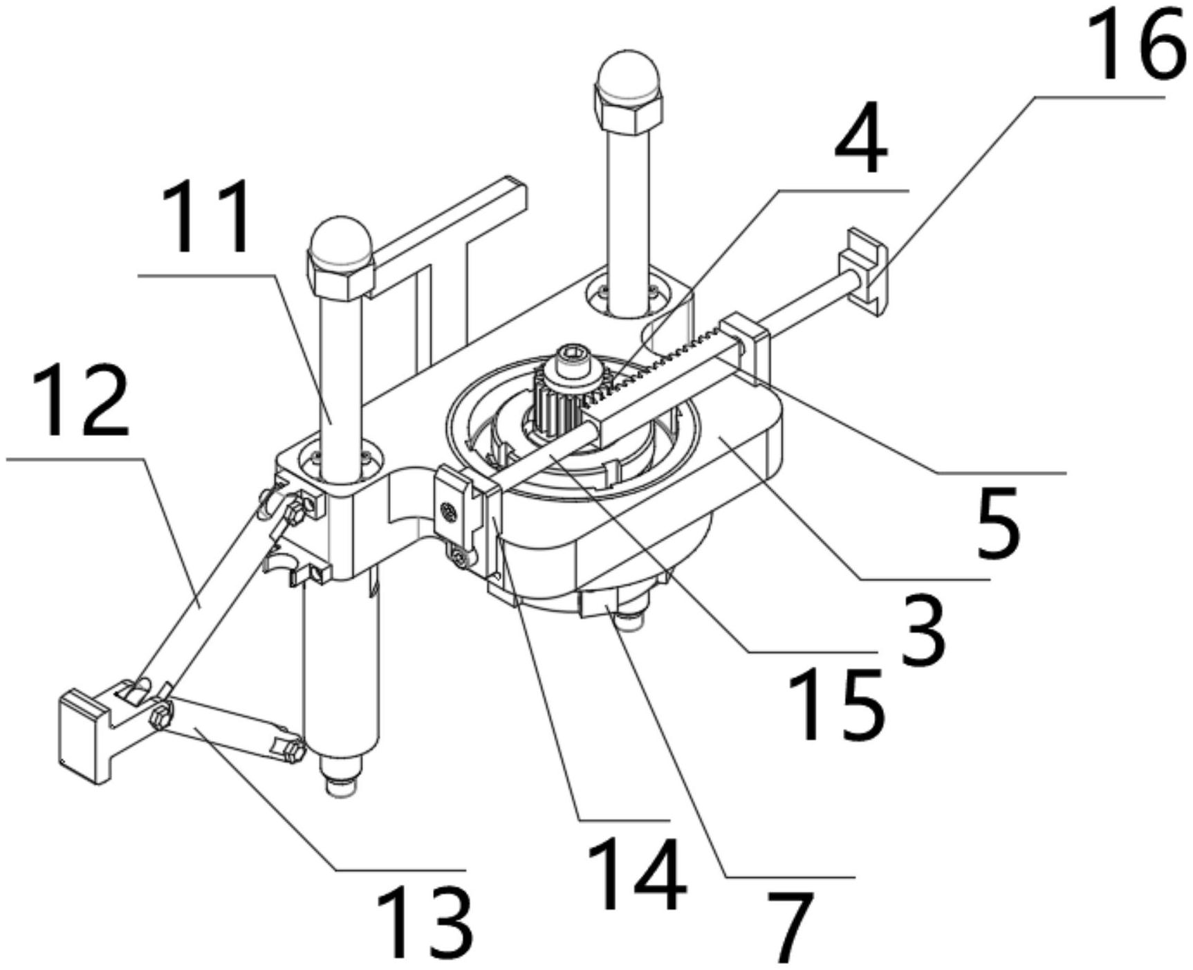
4 限位机构限位机构主要由挡块,限位座,弹簧,螺母,导向轴和限位轴组成
图片尺寸640x669
机械回旋式化学危险品样品瓶开合装置的旋转限位结构
图片尺寸1725x1402
cn202418527u_转盘驱动限位结构有效
图片尺寸1139x1283
回弹限位机构示意图
图片尺寸725x521
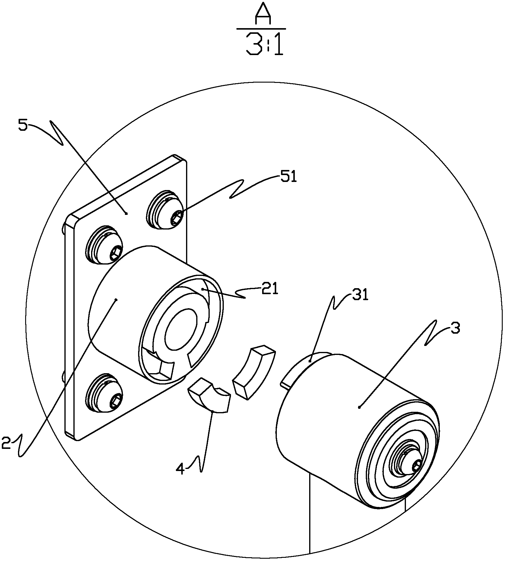
包括套接于转轴与其同步转动的管状限位挡块(1),挡块(1)外壁设置有
图片尺寸1794x1777
cn102108997a_一种限位机构有效
图片尺寸2420x1514
一种装载机转向限位装置
图片尺寸1133x966
一种液压马达转动限位机构的制作方法
图片尺寸507x298
cn107693294a_一种牙科椅支架用的限位转动结构在审
图片尺寸1316x1478
一种限位角可调的转动限位装置的制作方法
图片尺寸324x291
轴旋转限位器
图片尺寸1152x720