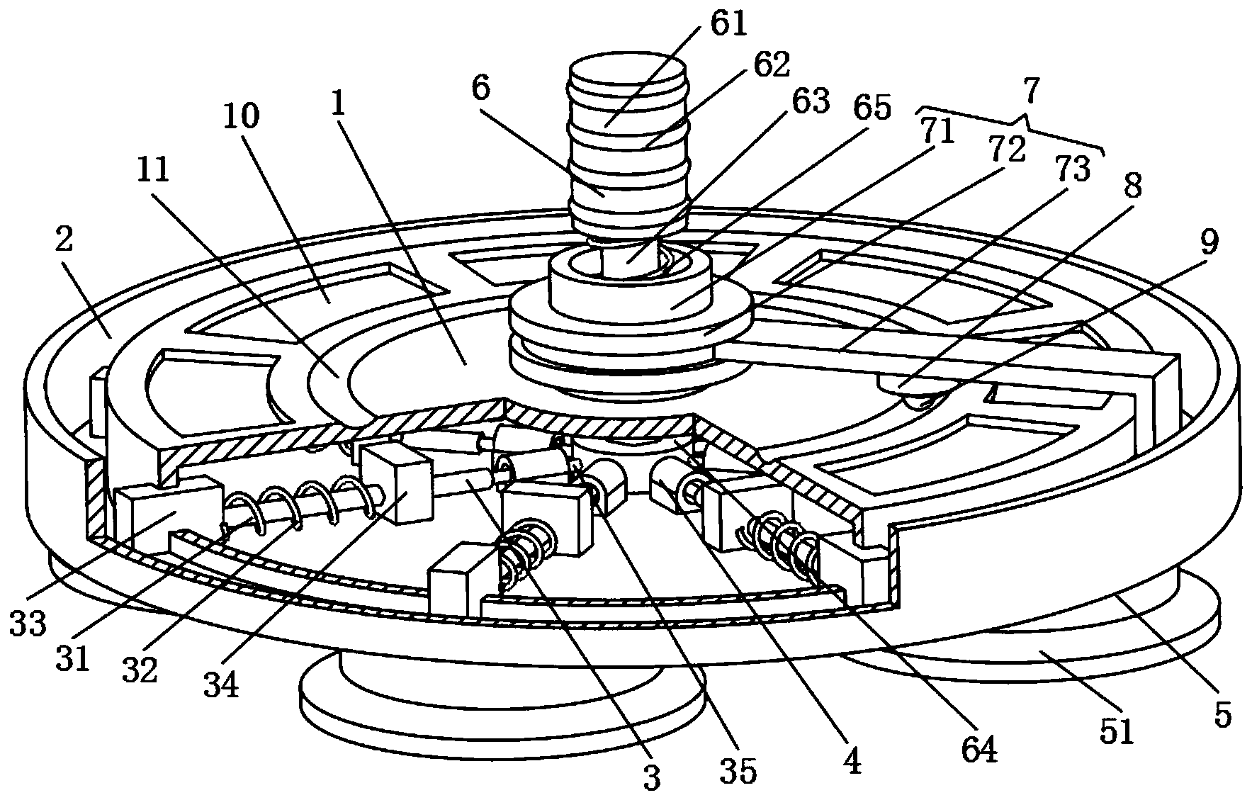
转盘结构

稳定转动的转盘结构的制作方法
图片尺寸1000x944
大转盘的旋转运动分析(轴承内外圈如何运动?
图片尺寸1147x645
主动轮 锥型套结构通过同步带进行传动;大带轮带动整个转盘转动
图片尺寸622x540
cn210941444u_稳定转动的转盘结构有效
图片尺寸1000x944
圆转盘驱动功率会随支撑轮的半径增加而增加不符合能量守恒?
图片尺寸709x495
转盘机构的制作方法
图片尺寸1000x857
六工位圆盘转盘机构
图片尺寸820x579
电动转盘机构
图片尺寸820x650
一种包装机械的转盘结构制造技术
图片尺寸904x1000
双色机转盘结构的制作方法
图片尺寸995x904
一种简易英语单词记忆转盘
图片尺寸1767x1129
cn2796937y_可调式等分割的气动转盘结构失效
图片尺寸1417x1185
一种转盘的制作方法
图片尺寸444x406
四工位旋转转盘设计
图片尺寸649x532
本实用新型公开了一种新型旋转盘组件,包括底盘,电机
图片尺寸1977x1899
伺服旋转转盘结构
图片尺寸820x525
双轴式旋转盘的制作方法
图片尺寸1000x735
一种带有软管支架的双色注塑机转盘结构的制作方法
图片尺寸840x1000
一种自动贴合设备转盘机构的制作方法
图片尺寸444x404
一种农村生活污水处理用一体化生物转盘
图片尺寸1730x1021