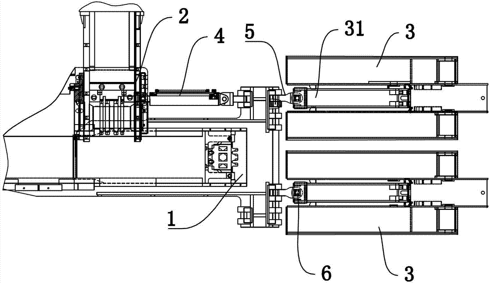
转载机自移装置结构图

迈步自移转载机,提高采煤效率,降低成本,保障安全稳定.
图片尺寸1920x1280
cn202441433u_刮板转载机用自移装置失效
图片尺寸1448x2670
一种转载机自移装置制造方法及图纸
图片尺寸1000x576
综采综放工作面全封闭转载机的结构设计与应用_产品_资讯_工程机械
图片尺寸550x337
铠装迈步自移式皮带转载机的制作方法
图片尺寸1000x760
薄煤层综采转载机与输送机联合自移装置
图片尺寸1872x616
底部滑靴迈步自移式刮板转载机的制作方法
图片尺寸1000x763
煤矿用自移式转载机
图片尺寸2000x747
迈步自移转载机,提高采煤效率,降低成本,保障安全稳定.
图片尺寸1924x1280
自移简易转载机的制作方法
图片尺寸1000x242
一种掘进机电缆自移装置的制作方法
图片尺寸444x281
图5 转载机机尾全封闭装置的整体装配效果3 现场应用可伸缩组合式转载
图片尺寸550x307
my800转载机自移装置
图片尺寸4000x3000
一种掘进机跟机电缆自移托缆装置
图片尺寸1982x1547
一种可用于转载机自移装置的电液自动控制系统
图片尺寸1429x427
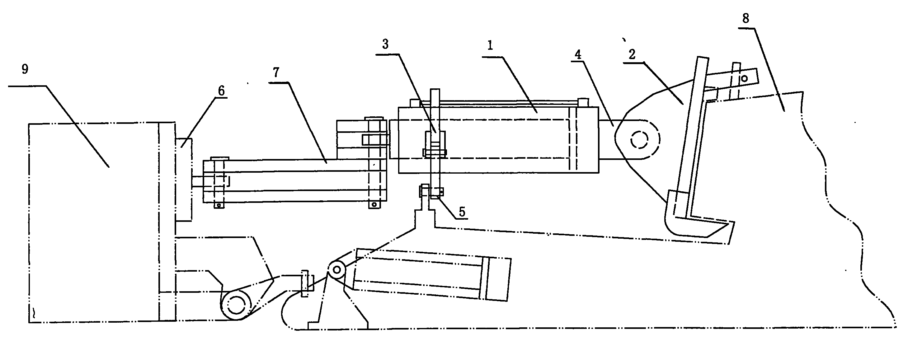
转载机辅助推移装置
图片尺寸2917x1112
一种转载机液压自动调平及支撑助移装置的制作方法
图片尺寸929x1000
一种皮带式的带式输送机用自移机尾的制作方法
图片尺寸1000x759
刮板机与自移式转载机连动推移拉架装置
图片尺寸1000x577
煤矿60刮板机转载机自移机尾矿用皮带自移机尾综采设备自移装置
图片尺寸800x800