轮轴装置

爱牛实验器材:轮轴装置
图片尺寸4032x3024
29007轮轴及支架小学科学学生实验器材教学仪器
图片尺寸1493x1404
娄底推车机轮轴装置
图片尺寸600x512
h轮轴和斜面ppt
图片尺寸860x645
齐轮轴研发装置再升级
图片尺寸1080x810
轮轴的研究
图片尺寸250x376
轮轴定位装置-爱企查
图片尺寸959x1209
如图所示是自行车上两个典型的轮轴装置,从图中可知脚踏板与
图片尺寸240x108
一种用于井管沉放的轮轴装置-爱企查
图片尺寸441x339
调节轮轴及调节装置-爱企查
图片尺寸1628x1332
轮轴的原理 a.动力臂为轮半径r, r r b.阻力臂为轴半径r.
图片尺寸1080x810
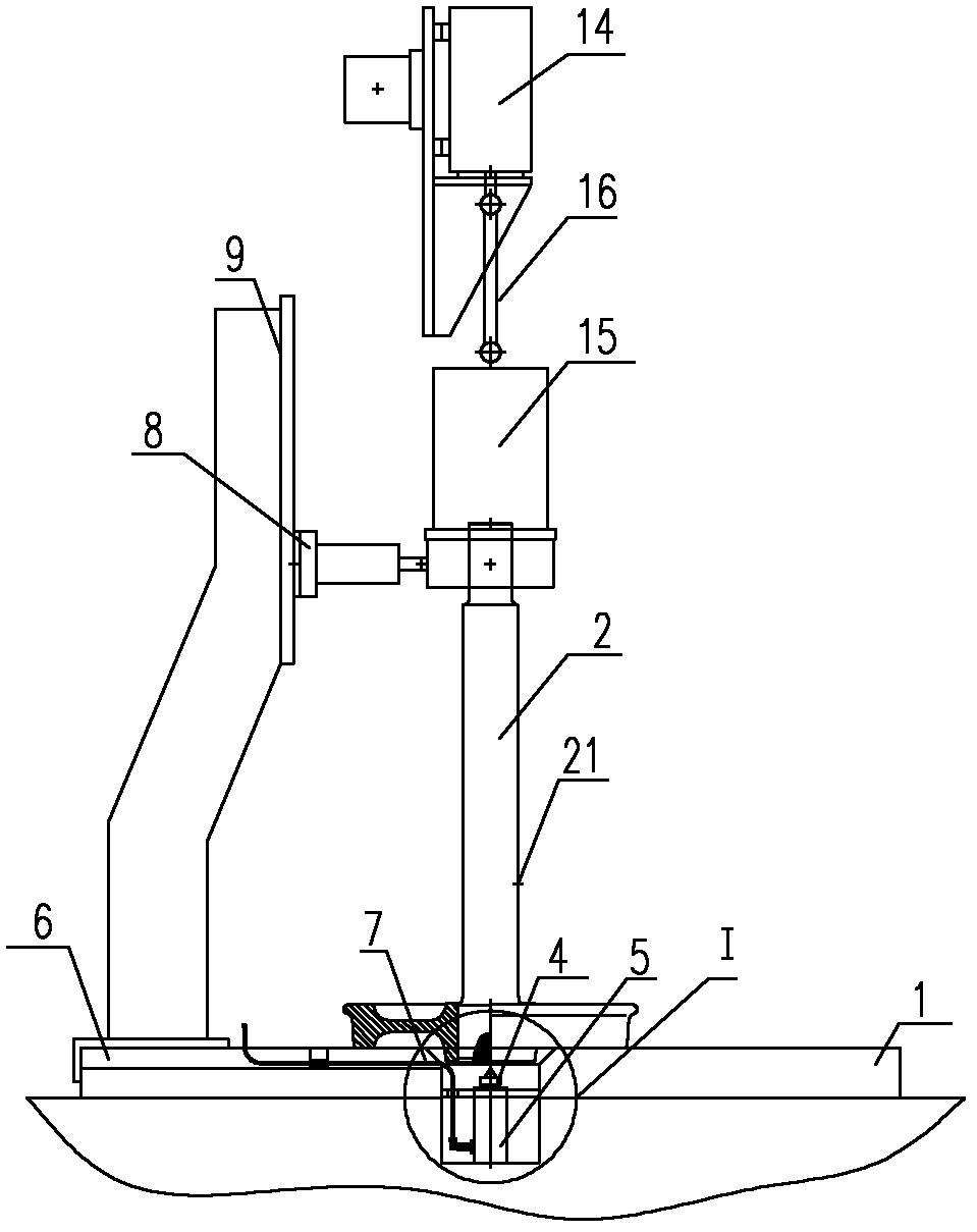
本实用新型涉及一种火车轮轴探伤机转轮器,包括升降动力装置,所述升降
图片尺寸800x870
一种轮子与轮轴定位装置-爱企查
图片尺寸800x636
齿轮轮轴上料定位搬运装置
图片尺寸820x534
轮轴的检测装置
图片尺寸1000x792
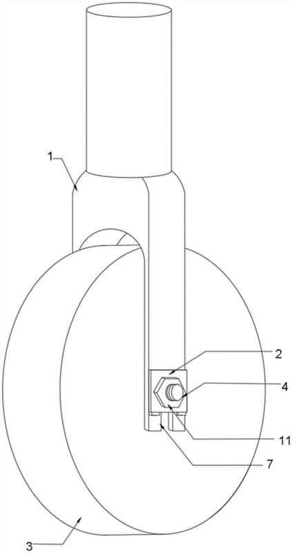
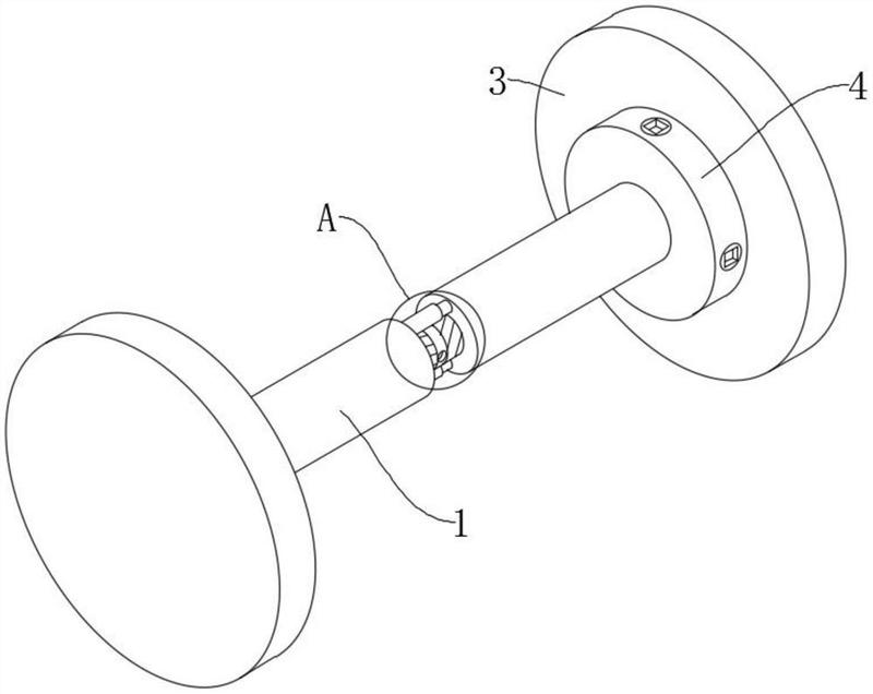
一种轮轴固定装置-爱企查
图片尺寸423x800
cn1473719a_轮轴轴承装置失效
图片尺寸709x591
婴儿车的轮轴固定装置 - cn98201717.
图片尺寸925x706
这个简单的小装置能轻松解决问题!|轮胎|轮轴|摩擦力_网易订阅
图片尺寸660x374
70 纵向传动装置1-牵引电动机;2-连杆轴;3-驱动锥齿轮;4-轮轴;5-减
图片尺寸376x325