轴套结构

新型机封轴套加工方法
图片尺寸1080x807
粉末冶金铜轴套
图片尺寸1200x1696
轴套类零件
图片尺寸759x600
304不锈钢轴套
图片尺寸1700x2338
轴套加工工艺ppt课件
图片尺寸920x690
轴套零件的工艺分析和编程(毕业设计)
图片尺寸1263x455
轴套
图片尺寸748x997
轴套
图片尺寸807x575
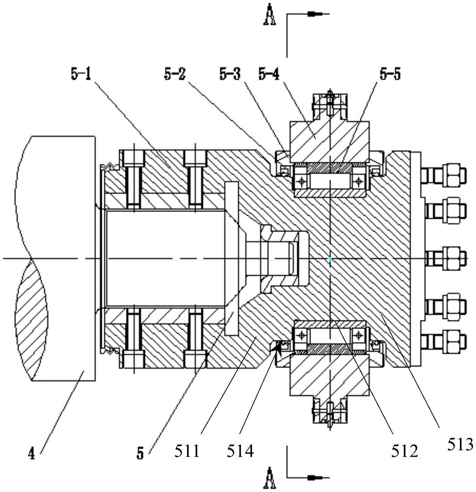
轧机侧轴套装配结构轧机接轴装置及轧机
图片尺寸967x1000
b) 轴套 x y z 轴肩 (支撑板) 说法一 过定位 工件 y z y z 心轴 (长
图片尺寸1080x810
jbzq 4613-2006 轴套
图片尺寸717x996
图1所示为该钢厂辊端轴套结构,其主要由轴套和衬板两部分组成.
图片尺寸430x247
轴套a3
图片尺寸830x654![[讨论帖] 集装式机械密封轴套](https://imgs.wantubizhi.com/img/A1A61BAA66193547F3A6DD7D8EE527E9EFE6D4FEBAAB350964D99BBA0BEF542B2849373F724109D654BD074822D31A4FF6975B41EB5A00E64BD140BAA057A367B03F1E0DDF75E2EEE1ED4C8F2F5EA3954B83393A37729E88871CEB6CEDFB8A22)
[讨论帖] 集装式机械密封轴套
图片尺寸900x519
轴套
图片尺寸1013x715
轴套
图片尺寸820x646
a3-轴套.dwg
图片尺寸1200x800
轴套
图片尺寸1109x695
cn209776080u_一种汽车平衡轴轴套结构有效
图片尺寸1000x856
一种轴套定位结构
图片尺寸1598x2199