轴承密封装置

轴承密封装置能够起到什么作用轴承该如何选择润滑油
图片尺寸396x444
干气密封是在气体动压轴承的基础上通过对机械密封进行根本性改进发展
图片尺寸640x480
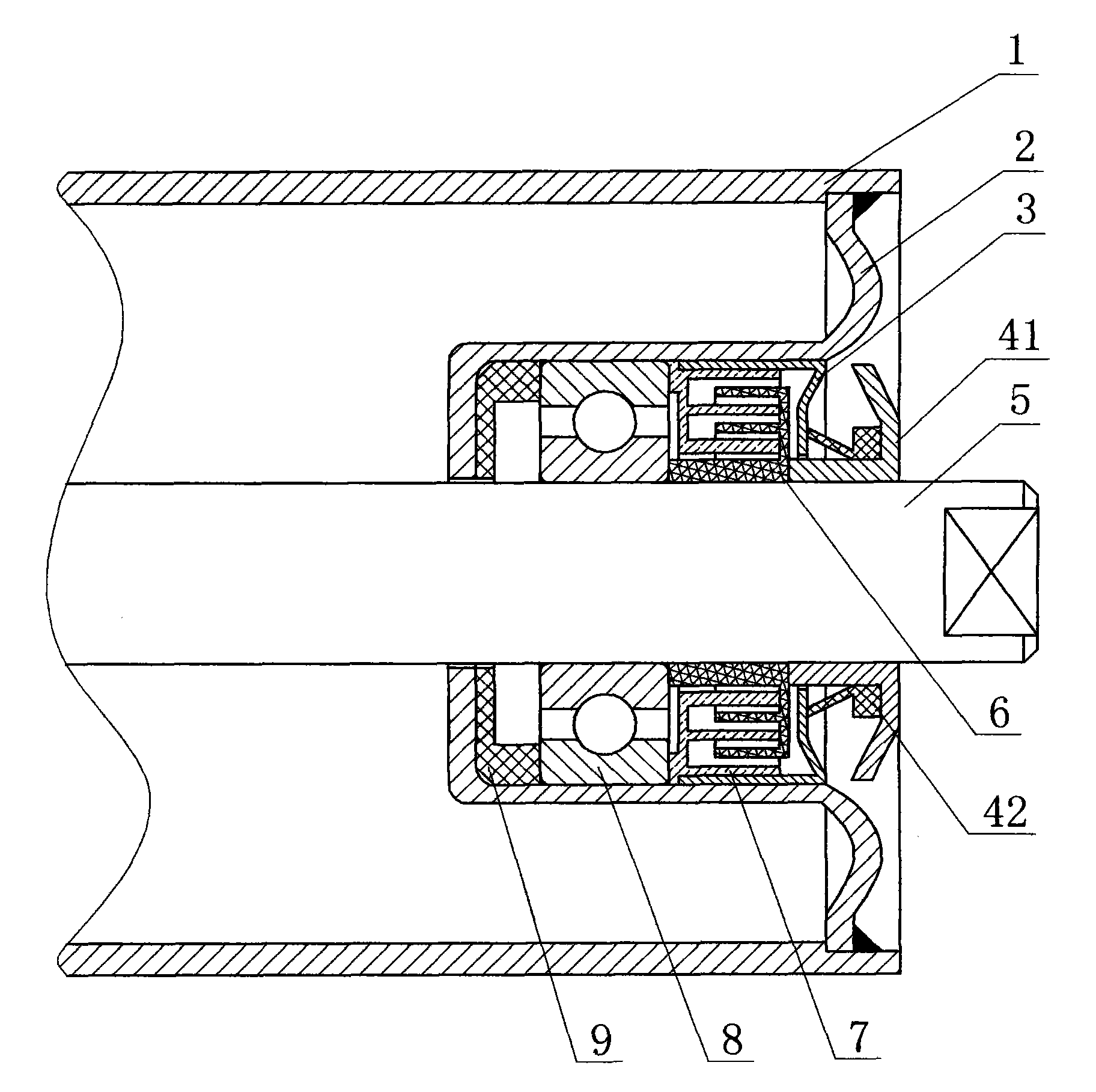
轴承润滑密封装置,包括轴承室与轴承,轴承室内设有轴承及轴承密封装置
图片尺寸1657x2004
除鳞装置辊道轴承密封装置-爱企查
图片尺寸1590x1485
托辊轴承的密封装置
图片尺寸1824x1816
丝杆轴承密封装置-爱企查
图片尺寸1054x1500
轴承的密封装置 原创
图片尺寸382x332
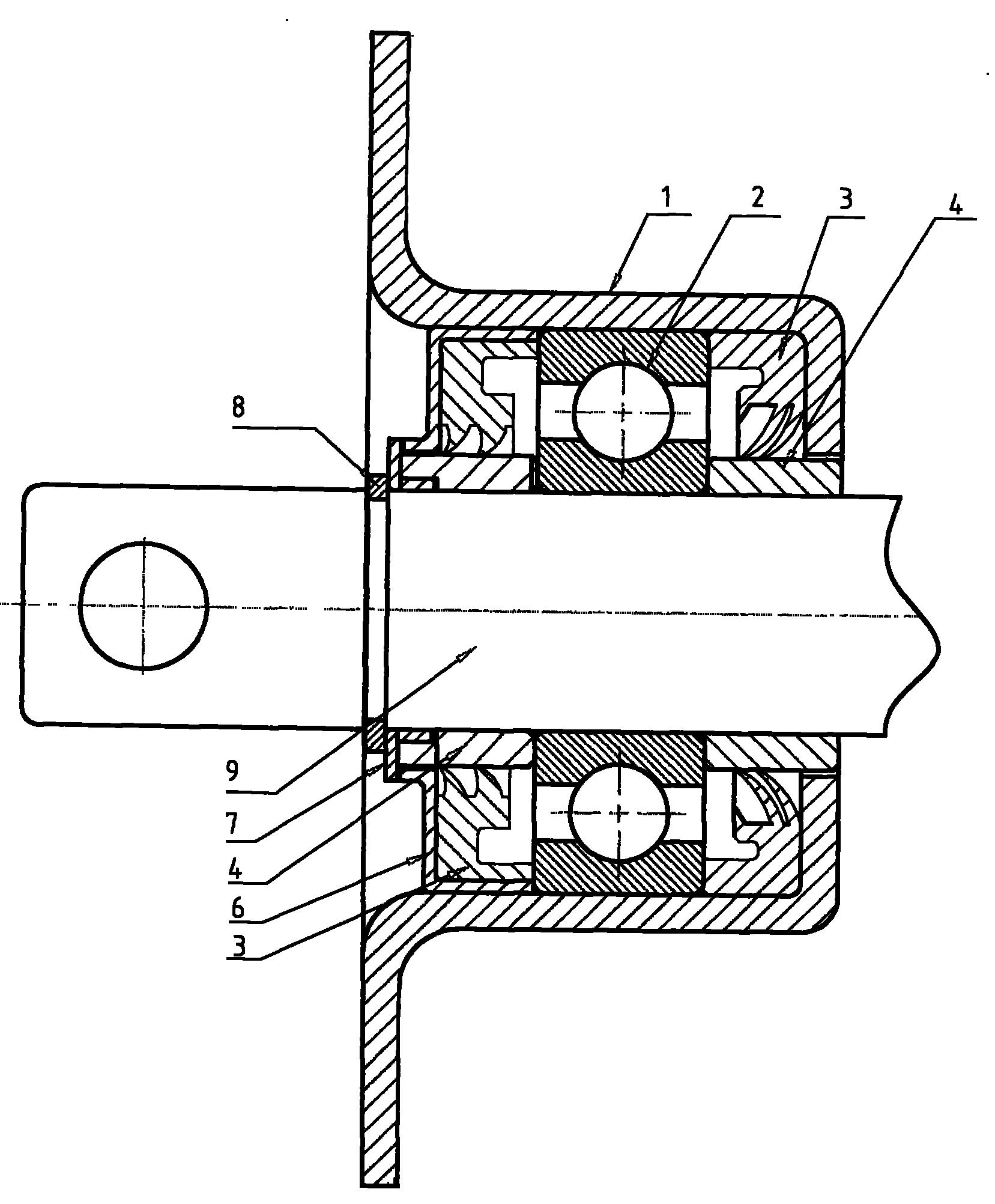
在滚动轴承两端面,都会安装有相应的密封装置.
图片尺寸640x640
浅谈进口轴承密封装置
图片尺寸530x234
在使用密封轴承时,必须使用合适的skf紧定套组件(比如e型紧定套),防止
图片尺寸644x799
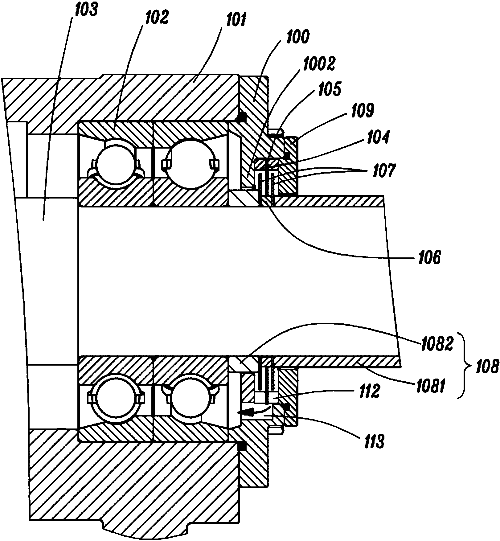
cn108223589a_一种轴承密封装置在审
图片尺寸1622x1755
一种插入式凸凹槽轴承密封装置-爱企查
图片尺寸1041x1179
轴承箱密封装置-爱企查
图片尺寸1017x1521
水泵轴承密封圈是专为泵应用装置所设计的元件,也是皮带驱动离心泵中
图片尺寸500x324
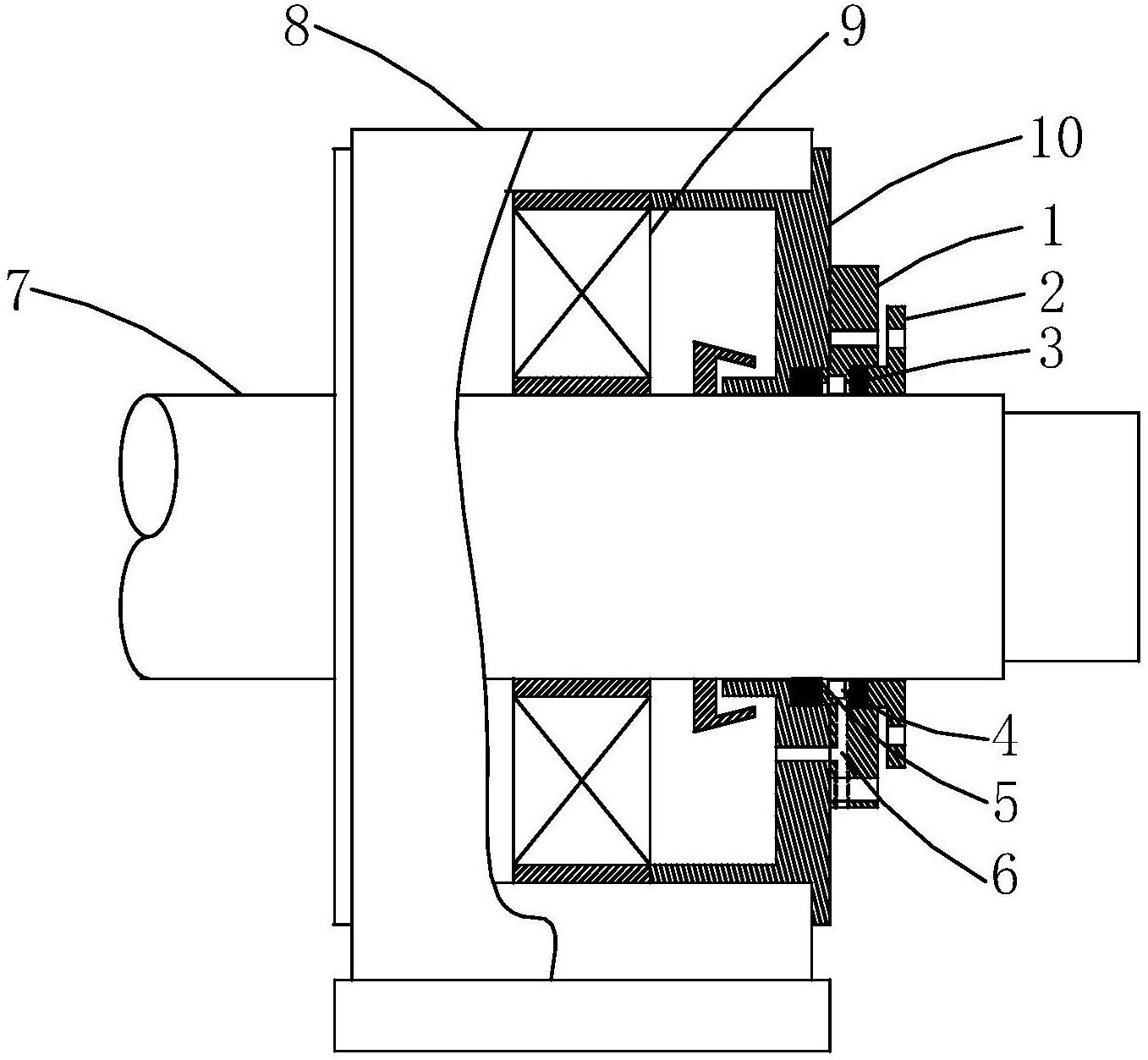
机床主轴损坏80都是密封不好机床轴承密封装置
图片尺寸500x317
辊盘式磨煤机的磨辊轴承密封装置
图片尺寸1351x1295
一种便于拆装的球磨机用轴承密封装置的制作方法
图片尺寸1466x1541
轴承座密封装置-爱企查
图片尺寸1357x1253
一种滚珠丝杠垂直方向支撑轴承密封装置 - cn201720246239.
图片尺寸490x537
机床主轴损坏,80%都是密封不好,机床轴承密封装置
图片尺寸500x267