轴承工作原理

轴承的基础知识
图片尺寸4047x2481
径向和推力轴承-小云
图片尺寸521x435
调心滚子轴承结构及特点,3d动画直观演示
图片尺寸1427x891
小轴承,大学问!
图片尺寸3024x4032
汽车轮毂轴承的工作原理详细介绍
图片尺寸2008x1871
弹簧 滚动轴承 中心孔ppt
图片尺寸1080x810
轴承轮廓度检测解决方案
图片尺寸660x449
空气静压轴承工作原理
图片尺寸800x1132
一张图解 主要轴承!(一看就懂) - 知乎
图片尺寸1587x3822
静压轴承
图片尺寸401x627
技研轮毂轴承介绍
图片尺寸1080x810
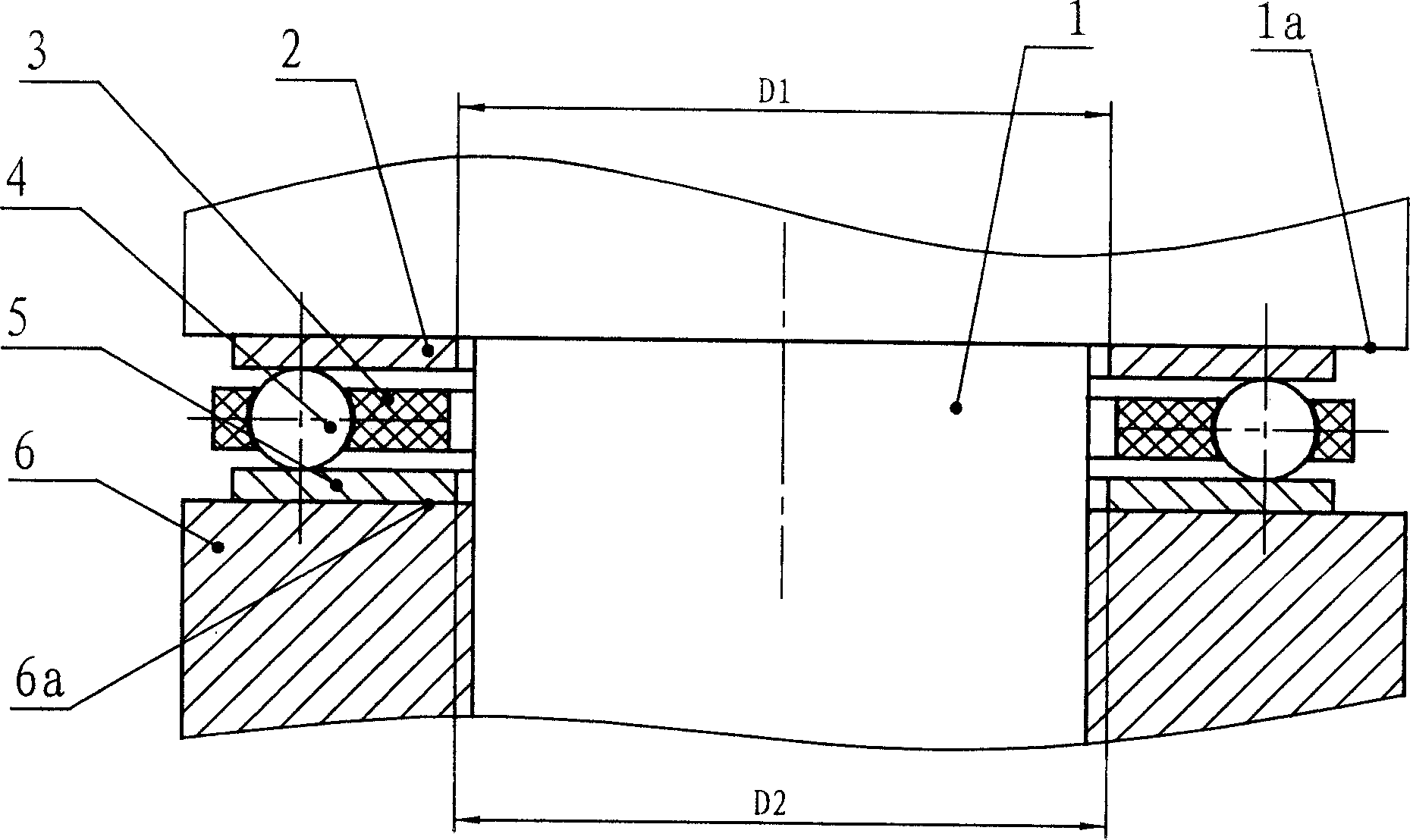
变孔径平面止推球轴承
图片尺寸1859x1108
轴承来料检验规范(通用)
图片尺寸1395x1857
油膜止推轴承
图片尺寸558x370
什么是空气轴承,真的能无摩擦磨损吗?
图片尺寸660x378
动压轴承工作依靠轴颈本身的旋转,把润滑油带入轴颈与轴瓦之间,形成楔
图片尺寸487x362
滚动轴承的基本结构及组成轴承的部件相关知识介绍
图片尺寸1080x1634
一,滑动轴承工作原理1.
图片尺寸640x771
技研轮毂轴承介绍
图片尺寸1080x810
滚动轴承是一种标准件,它的作用是用来支承旋转轴及轴上的机件的,因为
图片尺寸574x626