轴承座迷宫密封图片

电机轴瓦聚酰亚胺 浮动式迷宫油封 机械密封件200*230*26
图片尺寸1920x1920
迷宫密封
图片尺寸800x600
哈弗式迷宫密封
图片尺寸670x447
1v8589 轴承座用的迷宫式密封 tsn 218 s
图片尺寸800x800
苏州哪里有专业的迷宫密封,上海哈弗式迷宫密封
图片尺寸800x533
轴承箱浮动式迷宫油封的密封原理及漏油故障的原因
图片尺寸700x394
peek大连疆宇 迷宫密封加工防腐蚀自润滑
图片尺寸1920x1279
snl sng snh sn轴承座迷宫半唇密封tsn517 518 519 520 522 524 l
图片尺寸800x800
密封 根据具体的工况,可以通过不同形式的密封对轴承座进行密封,如
图片尺寸401x225
迷宫密封
图片尺寸984x265
【ftd腾达】轴承座ssn524/ssn520/ssn526轴承座 tac迷宫式密封 ts密封
图片尺寸400x400
煤矿用迷宫式密封圈抗摔塑料轴承座
图片尺寸1440x1080
大电机轴承端盖迷宫密封
图片尺寸326x530
snl sng snh sn轴承座迷宫半唇密封tsn517 518 519 520 522 524 l
图片尺寸300x300
轴承隔离器,迷宫式油封xm32替代骨架油封
图片尺寸625x422
nilos ring lsto型迷宫式密封环 25 47 lsto 金属轴承密封盖
图片尺寸300x300
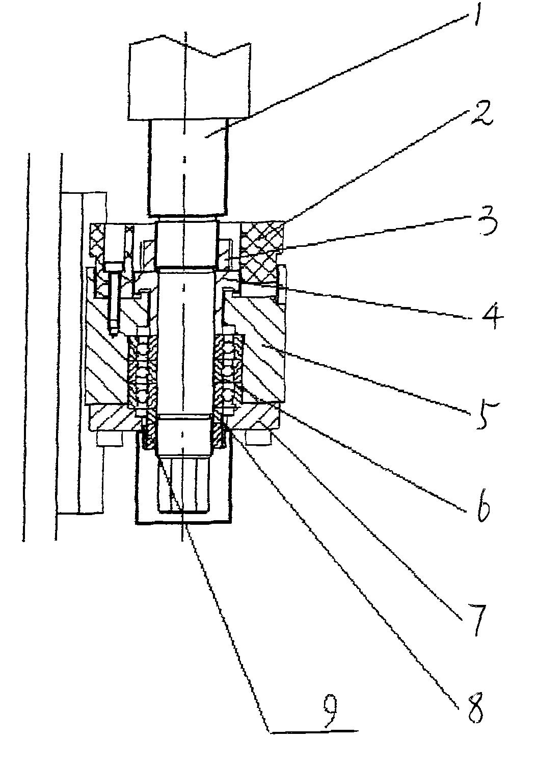
丝杆轴承密封装置-爱企查
图片尺寸1054x1500
轴承 轴承附属件 以径向迷宫密封为基础设计的,可以安装到轴座密封槽
图片尺寸284x387
重型轴承座厂家 供应sd3196迷宫式密封轴承座 铸钢材质 jsxr品牌 大型
图片尺寸400x400
ytg804-120 双筒迷宫式压缩机化学工业干气密封 - buy dry gas seal
图片尺寸1000x814