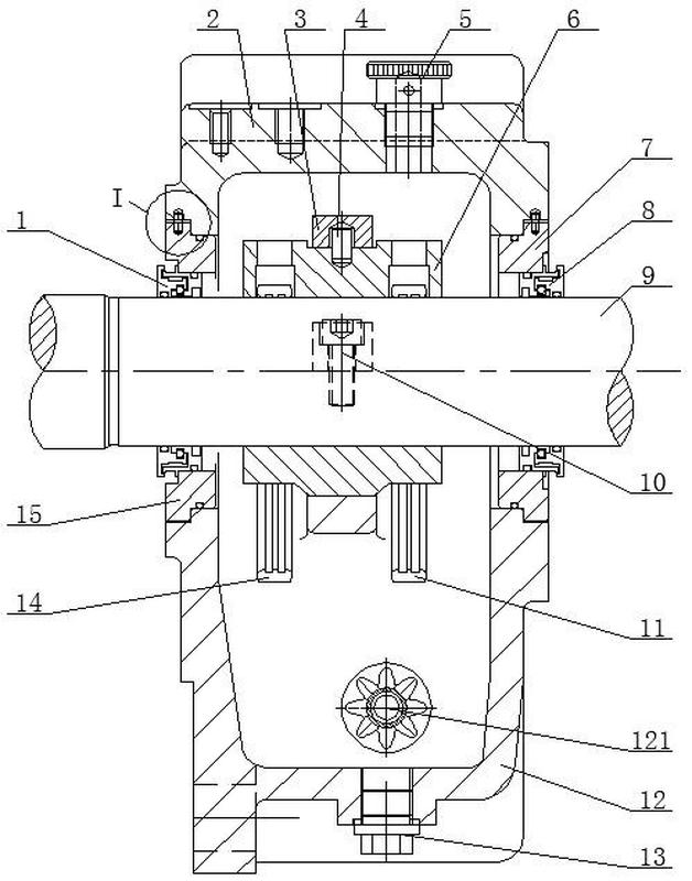
轴承箱结构图

一种密封性好的风机用轴承箱
图片尺寸2681x1756
图 4非驱动端轴承箱结构示意
图片尺寸414x349
厂家直供轴承箱 卧式水冷轴承座离心风机设备配件传动轴承座
图片尺寸790x561
一种新型风冷滚动轴承箱-爱企查
图片尺寸1180x1060
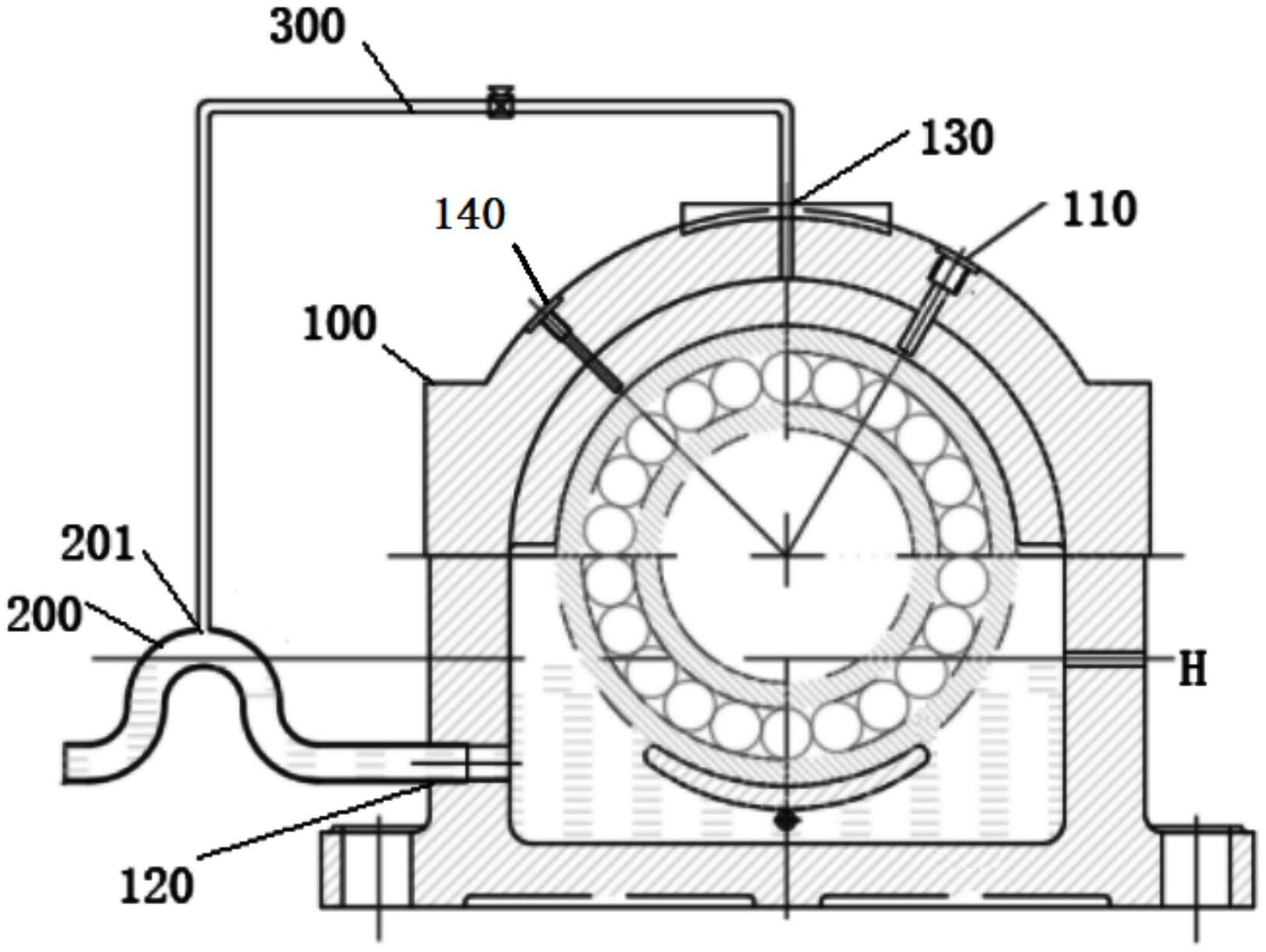
一种带密封环座的轴承箱结构-爱企查
图片尺寸628x800
风机轴承箱安装使用说明
图片尺寸700x458
旋涡泵轴承箱
图片尺寸1862x1578
一种结构紧凑型机组的轴承箱的制作方法
图片尺寸443x398
自平衡水泵轴承体结构图
图片尺寸840x407
离心泵的轴承箱有多少种结构形式
图片尺寸800x427
图1 引风机轴承箱改进前后结构对比
图片尺寸447x355
渣浆泵轴承箱加什么润滑油
图片尺寸2425x2007
一种带防止漏油与堵塞装置的轴承箱
图片尺寸1628x1225
一种离心通风机用双侧盖轴承箱的制作方法
图片尺寸936x1000
一种内循环自润滑式轴承箱的制作方法
图片尺寸339x443
一种动调风机用可拆卸轴承箱的制作方法
图片尺寸444x294
140型轴承箱结构图纸
图片尺寸300x225
润滑泄漏=密封失效?轴承箱润滑剂泄漏的主要原因
图片尺寸640x241
一种具有强化传热结构的高温泵轴承箱制造技术,离心泵轴承箱结构图
图片尺寸953x1000
离心泵的轴承箱有多少种结构形式
图片尺寸732x600