轻触开关工作原理图

各位我要单键触摸式开关的电路图
图片尺寸720x540
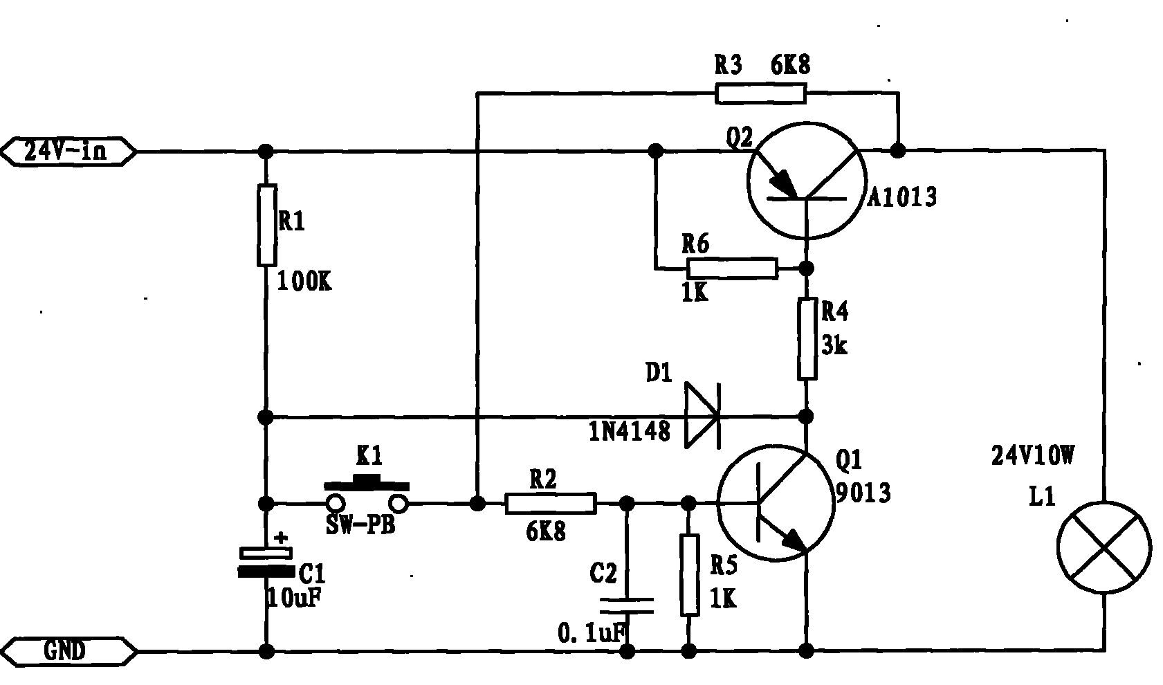
一种新型单键轻触开关电路
图片尺寸1681x990
图2利用人体感应的杂波信号来触发电路工作的延迟型触摸开关.
图片尺寸567x294
轻触开关按键原理图
图片尺寸723x457
cn202004742u_一种触摸开关电路失效
图片尺寸1946x1758
cn201657409u_一种新型单键轻触开关电路有效
图片尺寸1681x990
简单可靠的触摸控制开关
图片尺寸740x694
触摸开关电路图c
图片尺寸652x357
触摸感应控制开关电路原理图
图片尺寸563x345
这样做好了一个zvs了可以玩感应加热推高压包
图片尺寸1088x764
我现在的开关是一个 接通地线的锅仔按键,我想按一下,就让一个led亮
图片尺寸738x415
一按下触碰开关就持续通电的电路图
图片尺寸559x460
弹簧触摸开关原理图两种触摸开关电路
图片尺寸640x296
触摸开关电路
图片尺寸1034x324
接触器的使用选择原则
图片尺寸696x521
具有四种调光状态的触摸开关电路
图片尺寸1015x935
求大神解释一下这个电路原理(触摸开关)
图片尺寸1334x548
图 2 触摸开关原理图
图片尺寸625x446
轻触按键4脚开关原理图 引脚图 结构解析图
图片尺寸602x388
接触器实物接线图问题
图片尺寸600x450