过滤机简图

dh型过滤机
图片尺寸600x649
转筒式真空过滤机
图片尺寸562x569
3.3 过滤装置
图片尺寸1335x728
xtlz-ф260/ф200多用真空过滤机
图片尺寸390x516
一种连续离心过滤机的制作方法
图片尺寸938x1000
硅藻土过滤器
图片尺寸743x483
一种板式密闭自动排渣过滤机的制作方法
图片尺寸870x1000
3.3 过滤装置
图片尺寸469x622
一种用于发酵果酒的烛式硅藻土过滤机的制作方法
图片尺寸588x564
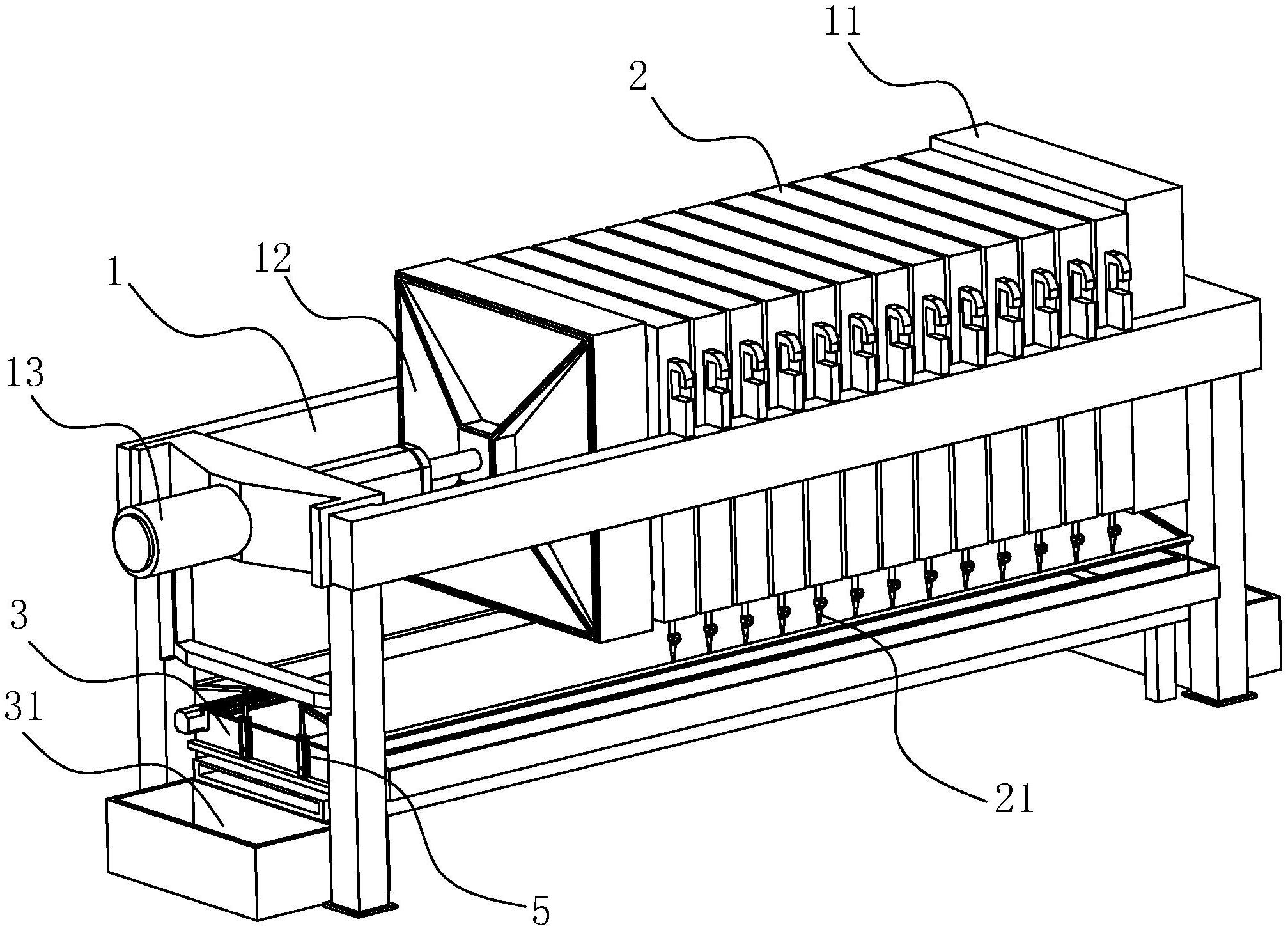
cn213100968u_一种压滤机
图片尺寸2015x1456
厂家直销钾长石盘式真空过滤机-盘式过滤机
图片尺寸800x393
新型陶瓷过滤机
图片尺寸360x470
ytdf精密硅藻土过滤机
图片尺寸300x354
一种自动板框压滤机
图片尺寸1935x1190
一种硅藻土过滤机的制作方法
图片尺寸1000x899
一种啤酒精酿过滤器的制作方法
图片尺寸292x443
cn209680333u_一种离心过滤机
图片尺寸1000x832
不锈钢 硅藻土过滤系统
图片尺寸971x1280
四.设备简图
图片尺寸599x378
一种层叠式微孔过滤机的制作方法
图片尺寸652x1000