过滤水装置图

过滤装置图及详细步骤,安装过滤装置的步骤,过滤的装置图及注意事项
图片尺寸773x763
农村自打井抽取地下水,如何净化?
图片尺寸750x542
kq-ctm锰砂过滤器 除铁锰解决井水发黄 絮状沉淀问题
图片尺寸904x566
带有取水过滤装置的水厂水处理设备
图片尺寸1889x1874
cn2235965y_离滤式水处理装置失效
图片尺寸5216x3456
如图是某同学用来除去水中难溶性杂质时所采用的过滤装置图.试回答
图片尺寸170x178
矿井水过滤装置,全自动上流式过滤器,刷式过滤器_杭州环球净化设备
图片尺寸649x511
基于钛纤维复合电极的电化学膜过滤装置及其水处理方法
图片尺寸1274x1689
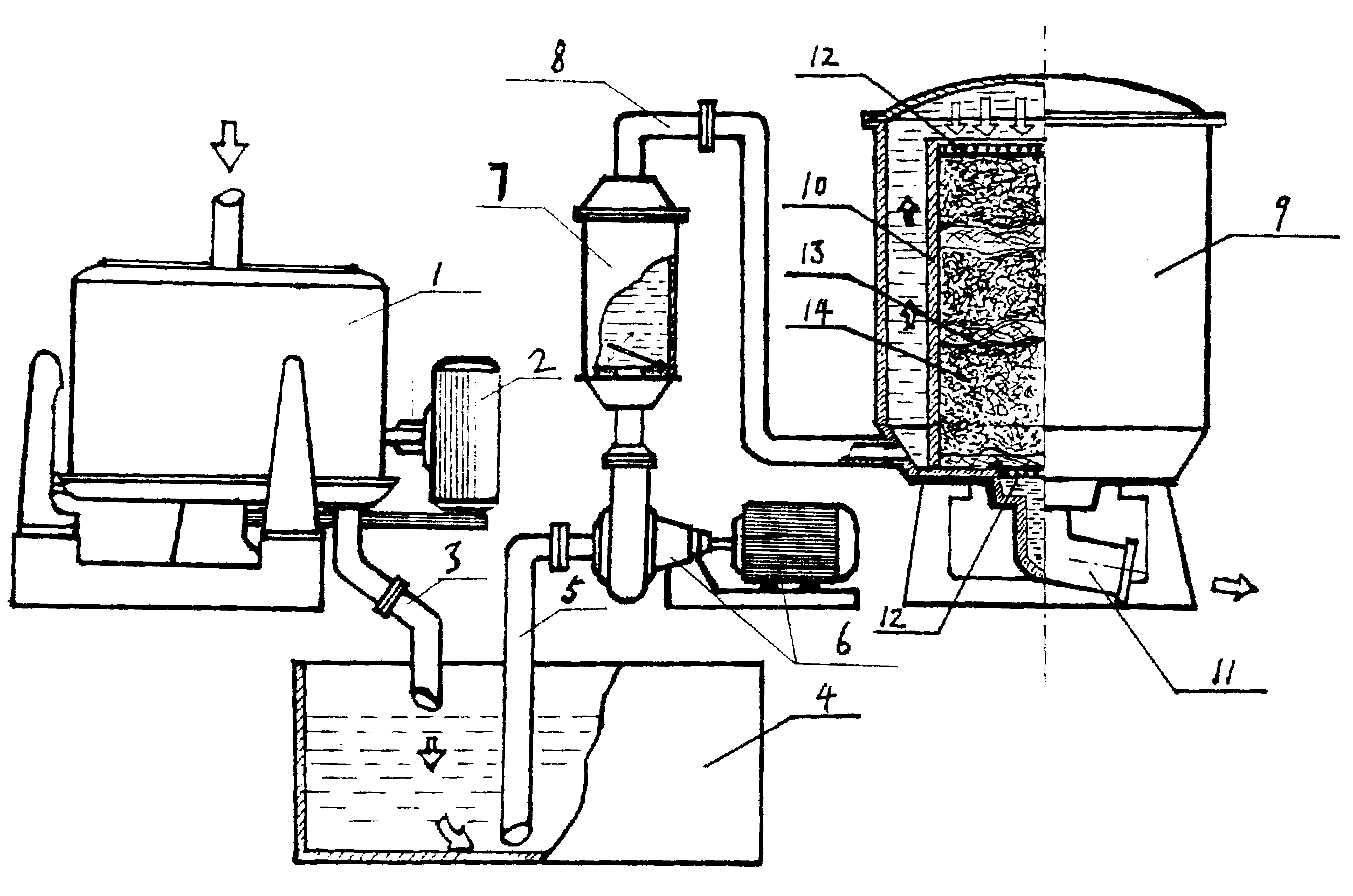
除盐水处理用过滤装置的制作方法
图片尺寸961x1000
浅层砂过滤器是采取石英砂作为水的过滤介质,当进入过滤装置的水从上
图片尺寸750x500
福建冷却循环水过滤器,专用刷式过滤器
图片尺寸464x561
炭砂滤池对农村饮用水中浊度及细菌的去除效果
图片尺寸1575x876
初中化学水的净化——过滤,吸附,蒸馏,这都是您必须要掌握的
图片尺寸375x238
三联不锈钢水中微生物膜过滤装置微生物滤膜过滤器
图片尺寸1920x887
cn113060782a_一种市政污水的过滤装置在审
图片尺寸1735x1875
在实验室可用如图装置制取蒸馏水.回答下列问题
图片尺寸366x271
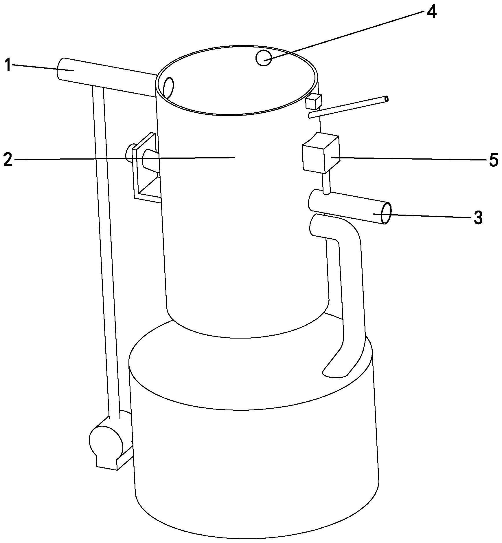
cn201609619u_除粉尘水过滤装置有效
图片尺寸1755x978
此次过滤装置的评价主要依据:过滤装置的创新点,过滤污水的效果,装置
图片尺寸1080x810
一种用于污泥浊水的净化过滤装置的制作方法
图片尺寸745x1000
一种污水过滤装置制造方法及图纸
图片尺寸1000x660