运输装置

风电叶片山地运输装置
图片尺寸5616x3744
风电叶片山地运输装置
图片尺寸5616x3744
正扬13热轧托盘运输装置制造完成pallettransportdevicemanufactured
图片尺寸700x526
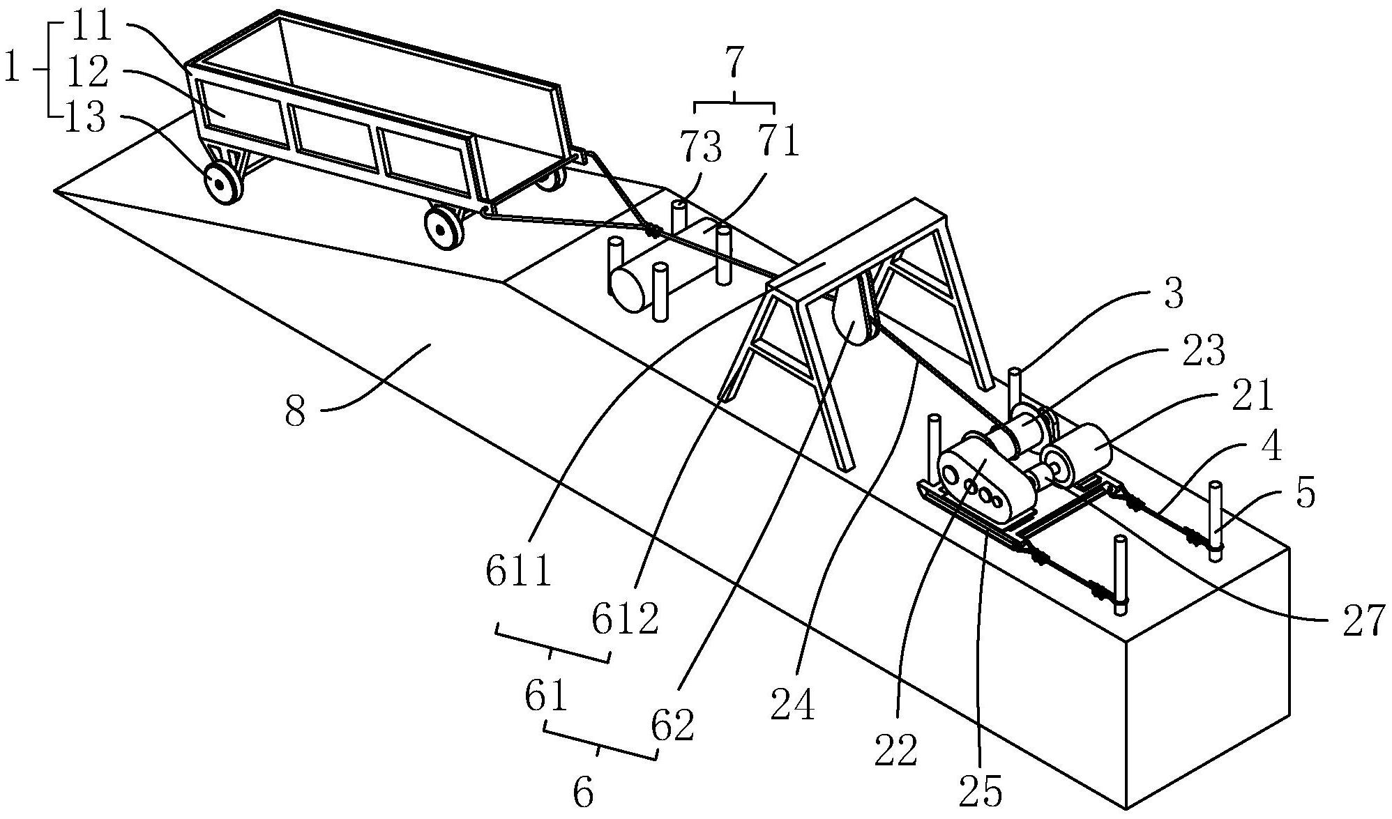
一种边坡防护施工物料运输装置
图片尺寸812x541
cn210310433u_太阳膜卷运输装置
图片尺寸1854x1280
运输装置
图片尺寸1000x541
摩托车自行车拖车架装载机3d三维几何数模型igs格式拖挂运输装置
图片尺寸1281x1176
三相低压轨道供应电动过跨车输工业自动化装置运输用电动转运车
图片尺寸360x360
cn212530996u_一种高稳定性管桩运输装置
图片尺寸1816x2142
一种供应多条生产线的物料运输装置-爱企查
图片尺寸2808x1775
一种运输装置
图片尺寸1525x1262
重型设备装运的运输装置及方法
图片尺寸559x349
200米电动液压悬挂运输装置 矿用单轨吊
图片尺寸480x480
坡面运输装置
图片尺寸1996x1175
一种装卸运输装置-爱企查
图片尺寸847x829
轨道运输安全保护装置 双向/单向气动阻车器 抱轨式挡车器 煤矿井下用
图片尺寸750x750
cn112918535a_一种建筑施工用运输装置在审
图片尺寸1921x1651
一种纺织浆料专用运输装置的制作方法
图片尺寸1000x771
一种集装箱运输防护装置
图片尺寸1528x1028
一种运输装置的制作方法
图片尺寸1000x834