远传水表结构原理

大口径无线远传水表安装示意图
图片尺寸700x372
无线阀控远传水表
图片尺寸967x1000
ic卡智能水表,远传水表,电子水表,数字水表等等,但是水表的内部结构你
图片尺寸355x563
m-bus总线传输远传远控型水表 捷先数码
图片尺寸456x430
水表的结构和工作原理相关资讯
图片尺寸396x289
无源远传智能水表的原理及设计
图片尺寸460x379
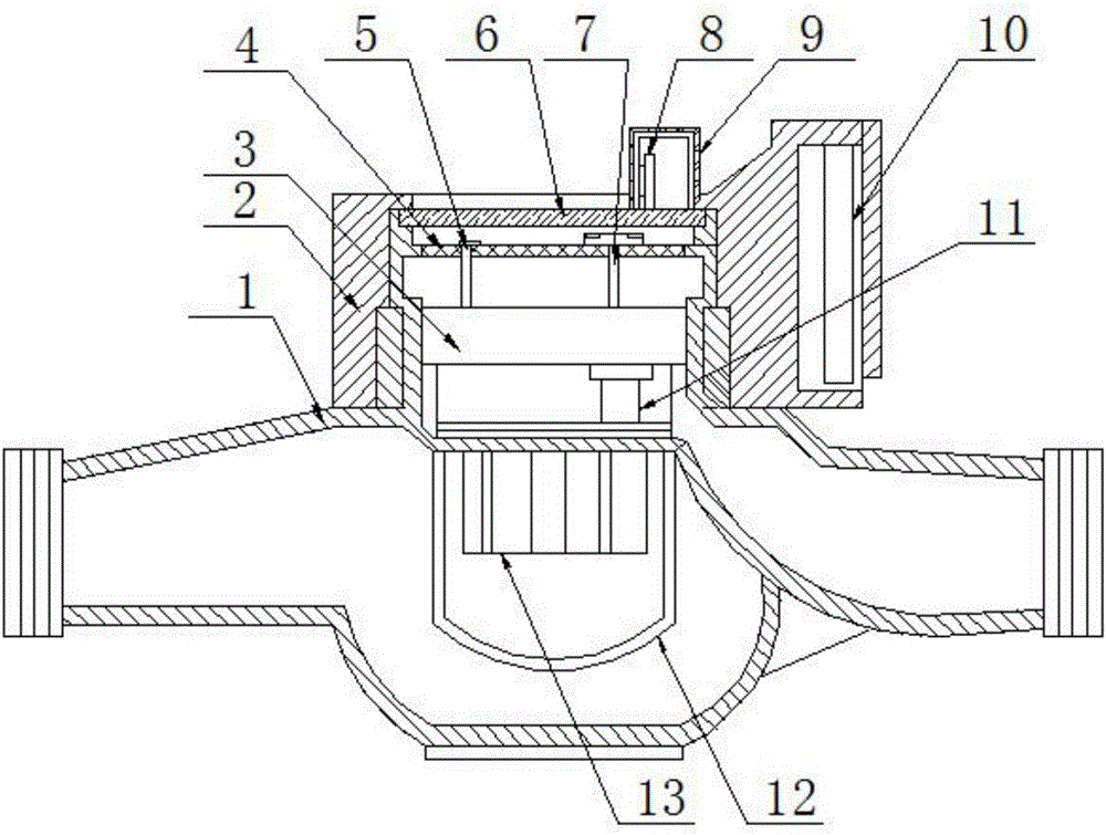
一种大口径无线远传超声波水表的制作方法
图片尺寸848x1000
防雾水表的原理及设计
图片尺寸464x415
一种智能远传水表
图片尺寸1000x520
cn206540583u_可拆式远传水表有效
图片尺寸445x366
可拆式远传水表的原理及设计
图片尺寸421x370
触摸式高频m1卡智能水表的工作原理及设计
图片尺寸451x341
推荐水表的结构及工作原理.doc
图片尺寸993x1404
水表的结构和工作原理相关资讯
图片尺寸420x671
cn205981312u_一种具有新型磁敏计数结构的机械式远传水表有效
图片尺寸1000x755
本发明提供一种精确的智能远传水表及其工作系统,其结构简单,设计合理
图片尺寸614x368
一种无线远传阀控水表的制作方法
图片尺寸919x1000
无线远传水表gprs
图片尺寸700x494
电子远传水表及水表系统的制作方法
图片尺寸1000x945
浪花水表厂图远传水表价格江苏水表价格
图片尺寸700x415