连接结构

经管营销 生产/经营管理 连接器基础知识ppt 二,连接器的结构 连接器
图片尺寸1080x810
钢结构的连接方式,除了焊接,这一个才是牛的
图片尺寸512x374
连接器知识及回收知识
图片尺寸800x365
12钢结构连接方式ppt
图片尺寸1080x810
一种双向箍头式的钢结构榫卯连接结构
图片尺寸1000x677
一种钢结构铸钢节点连接结构的制作方法
图片尺寸1000x978
《机械设计基础》第五版键连接.pdf 19页
图片尺寸972x729
课题之固定连接的装配工艺:ppt
图片尺寸1080x810
cn110566741a_一种快插接头连接结构在审
图片尺寸872x1000
螺纹联接法兰盘
图片尺寸552x414
木结构紧固件及连接件的选择系列四:金属连接件 | 木建大师 wood
图片尺寸920x402
连接器知识ppt
图片尺寸1080x810
一种耳片连接结构
图片尺寸1000x764
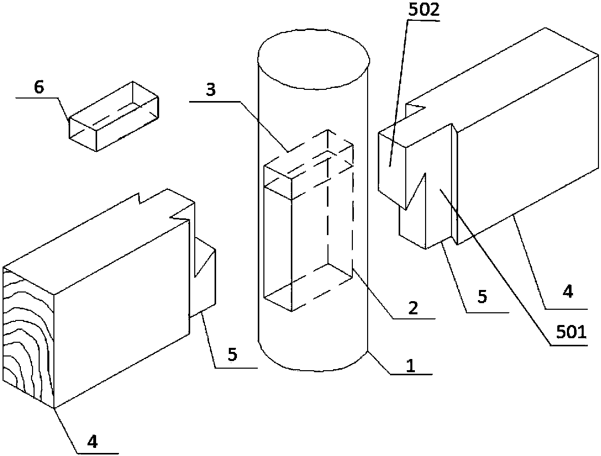
cn106906906b_用于木结构建筑梁柱的竖向半燕尾榫节点连接结构有效
图片尺寸1182x898
精第三章钢结构的连接螺栓连接ppt72页
图片尺寸1152x864
cn211231166u_一种线缆无缝金属管道快速连接结构有效
图片尺寸1000x735
玻璃钢松套法兰连接结构的制作方法
图片尺寸1000x858
【设计基础】ppt复习机械设计中的平键,花键,无键联接与销联接
图片尺寸960x720
钢结构装配式半刚性连接节点研究进展
图片尺寸1080x929
键连接与销连接ppt
图片尺寸1080x810