通槽怎么画

向量集的水槽插画-正版商用图片0399zz-摄图新视界
图片尺寸700x700
一种预制墙板上的预留线盒通槽-爱企查
图片尺寸368x570
设计知识真题实战(1)这样槽那样槽,弄懂了不瞎搞
图片尺寸720x480
一种新型水槽制造技术
图片尺寸1000x723
一种轴承座内部轴向径向相贯通槽的加工方法-爱企查
图片尺寸1135x991
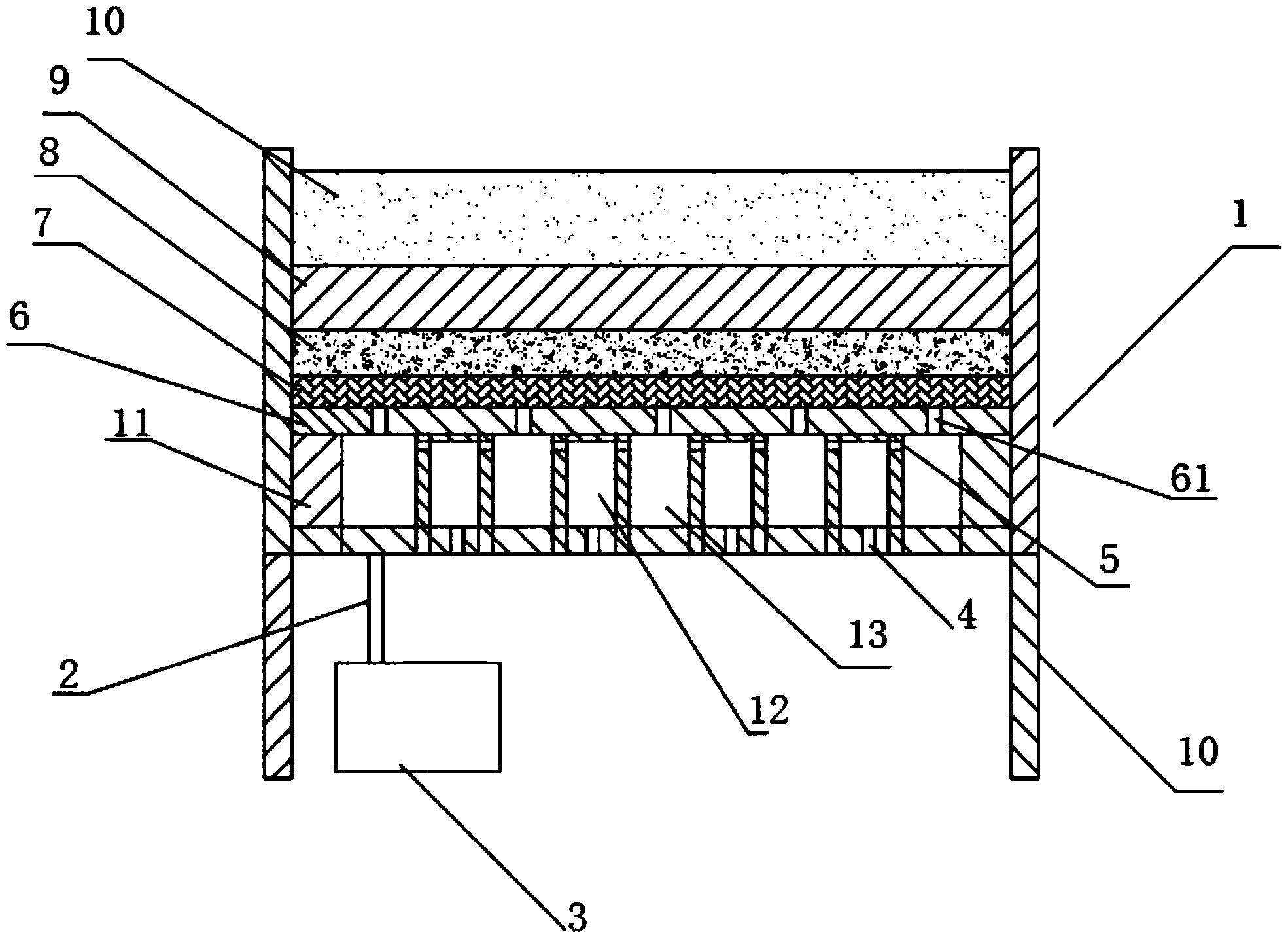
槽体底部间隔设有多个中空凸块,中空凸块与中空凸块之间为排水通槽
图片尺寸1969x1438
2是什么意思 2越程槽的尺寸上面没写,应该是多少
图片尺寸1840x3264
悬赏ug怎么在圆柱上画等宽螺旋槽
图片尺寸615x701
通槽虚线要画到底.
图片尺寸1562x1199
机械制图中,半圆槽怎么画剖切图
图片尺寸426x568
通槽
图片尺寸716x537
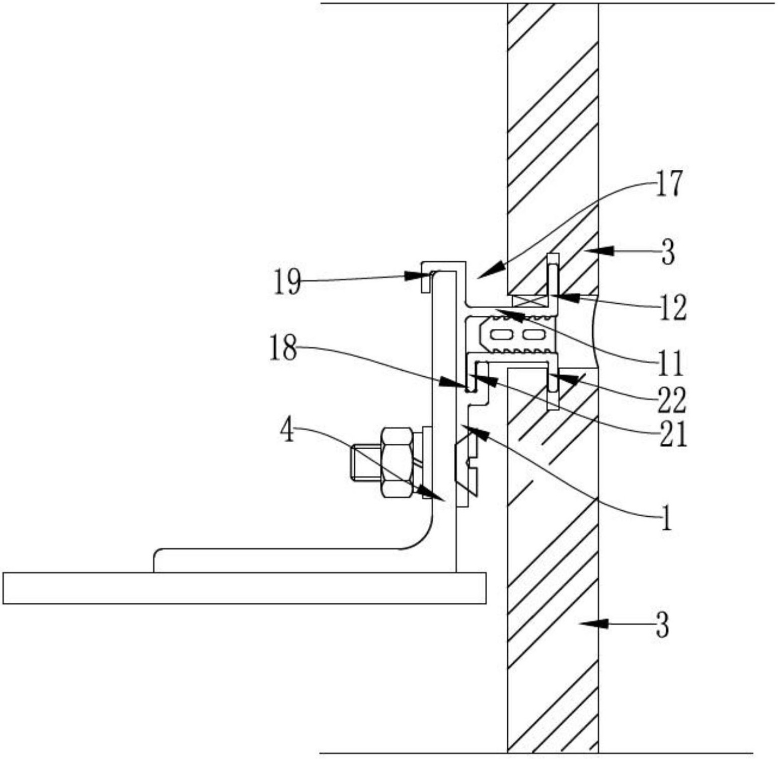
(通槽框式明框干挂系统安装示意图↑)(湿法铺贴,挂贴安装视频演示↑)
图片尺寸700x500
一种十字形母线槽-爱企查
图片尺寸800x301
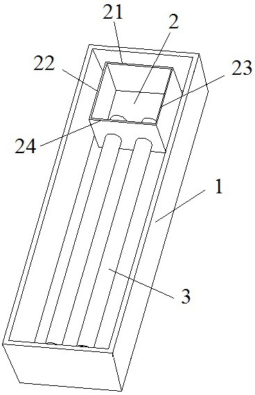
一种通槽式瓷板的干挂组件-爱企查
图片尺寸1546x1507
gq1-c-04a型槽式上水平四通专卖,买.
图片尺寸543x272
巴氏计量槽
图片尺寸586x501
机械cad中怎么画退刀槽?
图片尺寸521x418
卫浴-常规卫浴-污水槽-水槽-三槽-2d
图片尺寸858x464
槽式水平弯通
图片尺寸600x450
xqj-c-02a型槽式水平弯通
图片尺寸335x212