酸式滴定管怎么画

滴定这样,酸式滴定管里是酸,锥形瓶里是碱
图片尺寸258x383
一种酸式滴定管-爱企查
图片尺寸930x1392
算是滴定管的简笔画
图片尺寸254x257
滴定管及其使用
图片尺寸311x710
8 使用_【化学技能8】 酸式滴定管的使用
图片尺寸308x366
一种滴定管
图片尺寸1984x2019
cn206832762u_酸式滴定管有效
图片尺寸469x1000
滴定管及其使用
图片尺寸777x711
实验图2-5 酸式滴定管使用示意图
图片尺寸747x503
具塞滴定管酸式
图片尺寸158x250
化学滴管图标插画-正版商用图片0s8vb6-摄图新视界
图片尺寸700x700
如图a 如图b ,c 铁架台,滴定管夹, ,烧杯 滴定管
图片尺寸466x430
教你画肌底液简笔画
图片尺寸900x600
酸式滴定管排气泡手应该怎么放?
图片尺寸374x379
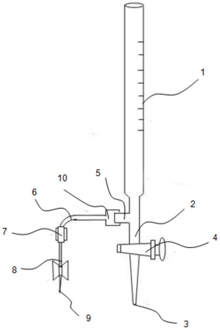
酸式滴定管的制作方法
图片尺寸899x1000
芦荟薇拉滴管图标轮廓风格
图片尺寸1080x1200
酸碱滴定管简笔画
图片尺寸411x512
滴定管简笔画教程
图片尺寸306x629
(2) 若滴定开始和结束时,酸式滴定管中的液面如图所示:则起始读数为
图片尺寸1124x691
滴定管及其使用
图片尺寸514x508