针的结构

(一)针刺工具 1,毫针的结构 毫针的结构 针尾 针柄 针根 针身 针尖
图片尺寸1080x810
针头的结构:针尖,针梗,针栓
图片尺寸1080x810
毫针的结构分为针尖,针身,针根,针柄,针尾5部分(一)毫针的结构一,毫针
图片尺寸640x658
毫针操作基本技术ppt
图片尺寸1080x810
初步的了解针灸手法
图片尺寸500x113
cn207412391u_多功能针灸针有效
图片尺寸1950x823
暴雨梨花针构造图
图片尺寸640x480
背景技术:现有的静脉留置针结构复杂,成本较高,使用不方便,需要改进.
图片尺寸1000x640
磁圆梅针的结构
图片尺寸600x456
一种安全针结构制造技术
图片尺寸902x585
一种静脉采血针的制作方法
图片尺寸1000x866
一种前列腺活检穿刺针
图片尺寸828x1000
针织入门知识纬编
图片尺寸693x423
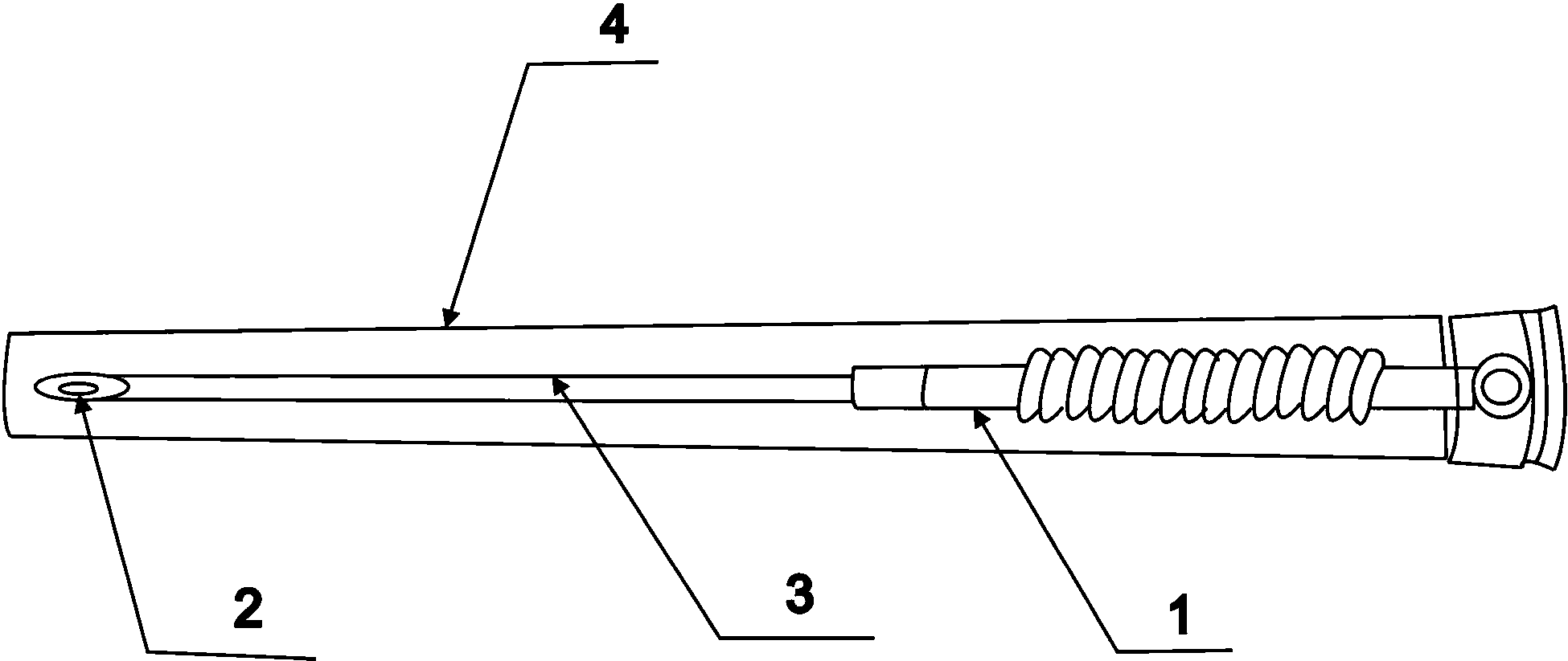
弹簧针(pogo pin)的结构
图片尺寸2000x916
一种一体纹身针稳定结构的制作方法
图片尺寸1000x651
cn101934103b_安全式静脉留置针有效
图片尺寸2644x1202
八光超声波引导下活检针内槽型组织切割针c2
图片尺寸850x261
cn208339876u_一种快速观察回血的留置针有效
图片尺寸2321x1793
一种可通过注射生理盐水增强超声显影的动脉穿刺针的制作方法
图片尺寸1000x705
上海普益 普通型y型静脉留置针生产厂家
图片尺寸553x450