钢丝绳滑轮运输设计

材料选定后,首先根据api-9b《美国石油学会钢丝绳设计规范》中的规定
图片尺寸876x548
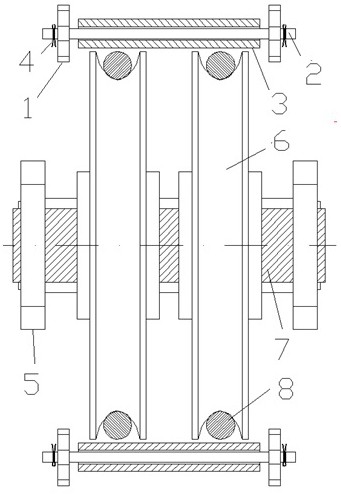
一种建筑施工升降机用带钢丝绳电缆滑车的制作方法
图片尺寸1714x2174
行车钢丝绳吊线滑轮 微型电缆滑车带轴承 钢轮 吊环起重滑轮
图片尺寸790x800
吊钩式电缆滑轮电力施工铝合金起重滑车单轮双轮多轮钢丝绳导绳轮
图片尺寸750x1778
一种天车定滑轮钢丝绳的防脱装置
图片尺寸341x494
钢丝绳与滑轮动画完善
图片尺寸640x512
钢丝绳滑.船用滑轮链式滑车龟壳滑车重型滑车3吨5轮吨吊
图片尺寸3000x4000
一种用于重型起重机械的钢丝绳导向滑轮
图片尺寸1917x1646
钢丝绳在滑轮上的草图路径画法
图片尺寸1217x601
一种防止起重机滑轮组钢丝绳跳槽的双效防护装置的制作方法
图片尺寸1862x1501
本设计由拉杆,牵引吊耳,拖拽钢丝绳,牵引环,滑轮组吊耳,滑轮组和钢丝
图片尺寸1207x1041
6200双轴承直径50mm滑轮钢丝绳小滑车起重用滑轮吊机用45号钢滑轮
图片尺寸3000x4000
一种防止滑轮组吊钩钢丝绳出槽的装置-爱企查
图片尺寸336x465
钢丝绳在滑轮上的草图路径画法
图片尺寸1645x895
请你设计一个滑轮组,并画出组装图穿绕滑轮的绳子最大承受力是800n
图片尺寸450x343
滑轮
图片尺寸820x495
重型钢丝绳挂滑轮三维模型设计图库目录
图片尺寸498x716
起重机滑轮组的钢丝绳穿绕方法
图片尺寸484x385
一种带钢丝绳保养的地质勘探用游动滑车的制作方法
图片尺寸546x1000
五金工具 304不锈钢滑轮钢丝绳牵引吊环定滑轮 起重单双滑 - 抖音
图片尺寸1916x2560