钢丝软轴传动原理动画

钢丝软轴:轴线可任意弯曲,传动灵活.
图片尺寸1080x810
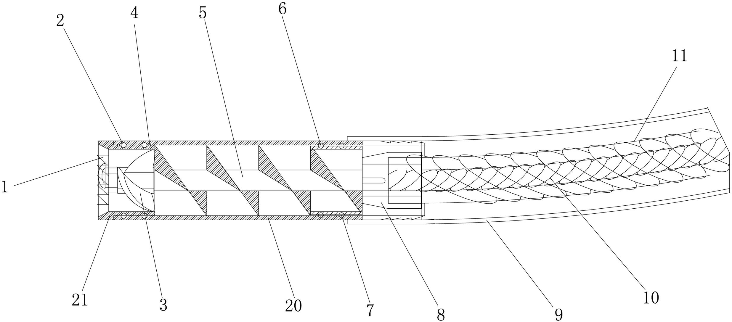
钢丝软轴软轴的结构型式和规格
图片尺寸1131x495
钢丝软轴软轴的结构型式和规格
图片尺寸1126x646
链接车轮驱动发电机的万向节钢丝软轴
图片尺寸1000x785
钢丝软轴软轴的结构型式和规格
图片尺寸1126x420
厂家定制高精度钢丝传动软轴 攻牙机软轴 同步传动件 同轴连接器图片
图片尺寸660x660
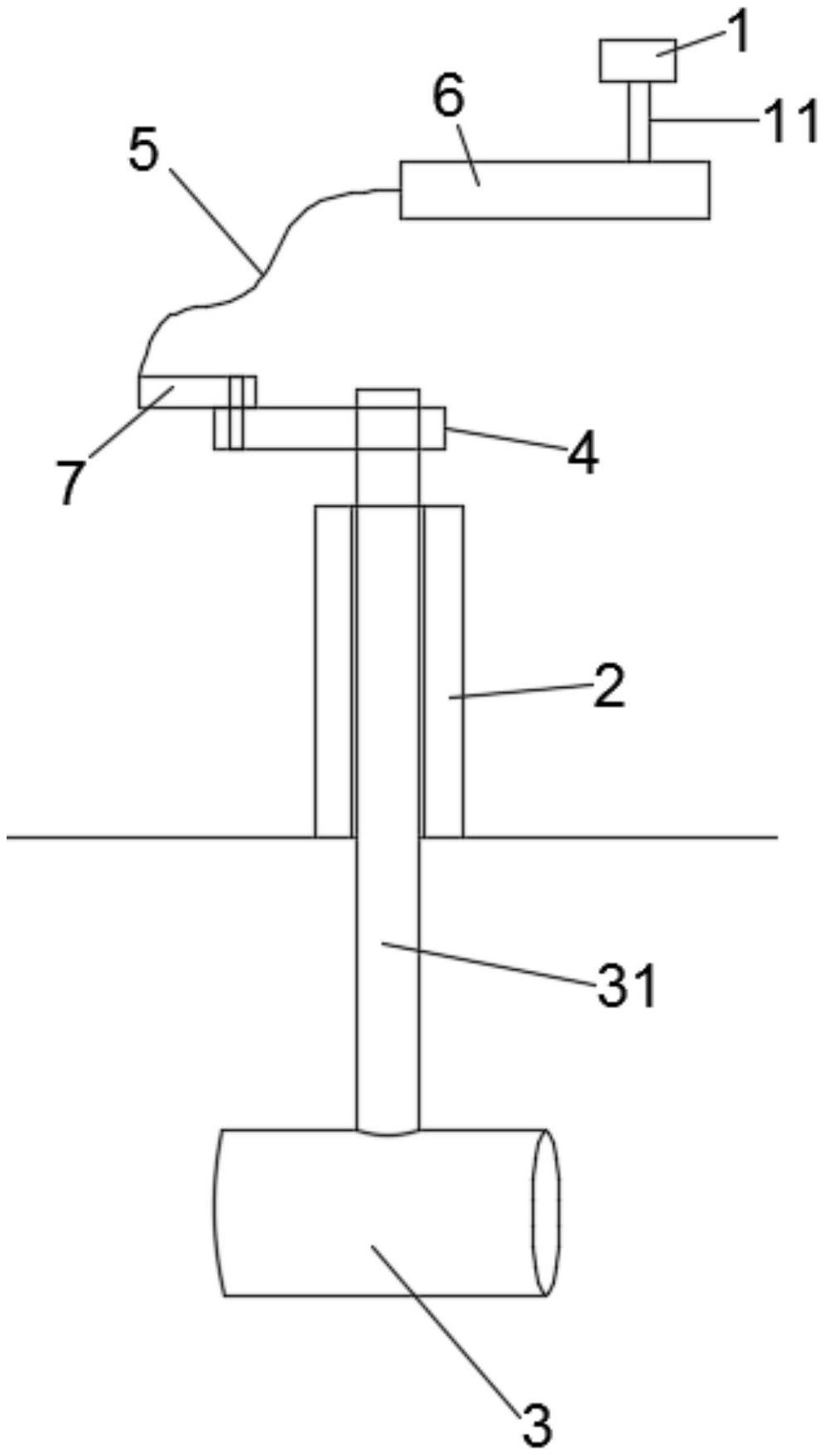
在分传动箱的驱动轴与苗间除草盘总成之间配置钢丝软轴,该钢丝软轴的
图片尺寸2117x844
cn2157335y_移动式软轴传动离心泵失效
图片尺寸1664x2540
商标logo
图片尺寸709x685
软轴
图片尺寸960x960
cn105864381a_一种改进的软轴螺旋传动装置失效
图片尺寸1000x379
适用于中国重汽豪沃t7h换挡拉线排挡选档软轴钢丝拉绳原厂配件 原厂
图片尺寸850x850
水泥罐车操纵手柄取力传动总成gj1105_软轴,控制器,电子油门,电控手柄
图片尺寸4672x2628
钢丝软轴
图片尺寸960x960
弹簧钢丝软轴1 - 弹簧钢丝软轴 - 敏硕科技mascot_多层波形弹簧_波簧
图片尺寸800x800
一种不绕钢丝的游乐船转向机构-爱企查
图片尺寸996x1759
一种利用通电收缩金属丝驱动钢丝软轴的装置-爱企查
图片尺寸1693x1939
【零·课堂】万向传动装置的工作原理及主要应用_shandong zero
图片尺寸933x285
包括电机,电机连接于机座上,电机的传动轴连接有软轴钢丝绳,防静电胶
图片尺寸2472x1088
05mm弹簧钢丝 软管钢丝 软轴钢丝 冷拔钢丝-阿里巴巴
图片尺寸899x899