钢管三角吊架制作图

一种承插型盘扣式钢管脚手架外挂三角架的制作方法
图片尺寸989x1000
图文详解消防管道支吊架的制作安装标准
图片尺寸650x298
适用于不同规格管道支吊架的设计,包含t型支架,侧焊三角支架,垂直耳轴
图片尺寸820x604
一种可移动吊装用三角架的制作方法
图片尺寸638x1000
一种三角形外挂架制造技术
图片尺寸945x1000
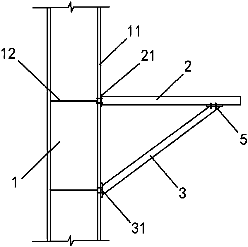
cn208105482u_一种便于安装的三角吊架结构有效
图片尺寸847x845
起重三脚支架倒链吊架救援三角支架起重吊架定制 钢管三角支架1t*3米
图片尺寸800x800
外挂式组合三角型钢悬挑脚手架施工
图片尺寸640x277
cn208329559u_扣件钢管三角形悬挑承重脚手架有效
图片尺寸1332x1864
地下管廊支吊架
图片尺寸1000x1000
一种脚手架用挂墙式角钢三角悬挑底座架的制作方法
图片尺寸1000x578
一种圆管冷却三角架的制作方法
图片尺寸999x1000
三角架采用100×100×4方钢管焊接制成,三角架竖杆高1 500mm, 上部高
图片尺寸433x695
如何选用管道安装中常用的支吊架
图片尺寸640x505
三脚架构造图
图片尺寸443x391
南宁万达茂大跨度弧形倒三角管桁架施工方案比选及优化
图片尺寸802x408
承重3吨车间手推移动三角架 高5米跨度4米工字钢龙门架
图片尺寸800x567
一种三脚架的制作方法
图片尺寸1000x844
一种船舶用管子吊架
图片尺寸971x1000
沟槽连接管道,焊接钢管,钎焊铜管等刚性材质的管线,横向吊架间距不得
图片尺寸500x667