钢结构缆风绳图片

钢结构安装过程中避免风振影响
图片尺寸1080x1546
岳阳c型钢公司品质为本
图片尺寸556x450
缆风绳缆风绳规定必须采用钢丝绳,直径不小于9.3毫米.
图片尺寸1145x579
钢结构缆风绳设置规范有哪些
图片尺寸500x380
缆风绳
图片尺寸789x690
钢结构缆风绳设置规范有哪些
图片尺寸500x289
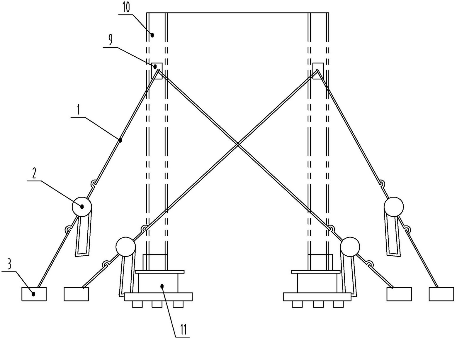
钢柱设置揽风绳示意图
图片尺寸687x492
在桅杆起重和各种高耸结构中,缆风绳是重要的稳定系统,起着稳定烟囱并
图片尺寸1109x714
缆风绳
图片尺寸1088x689
2,中柱安装,在安装时与边柱连接成整体前应有缆风绳固定.
图片尺寸372x340
钢筋棚加设缆风绳索.
图片尺寸4032x2016
钢结构建造装置-爱企查
图片尺寸1559x1155
防风绳 可调节
图片尺寸704x704
钢结构技术钢结构建筑安装测量方法
图片尺寸510x477
部分缆风绳松动或未按要求安装
图片尺寸2000x2667
钢结构缆风绳设置规范有哪些
图片尺寸500x375
活动板房旁边钢丝绳怎么固定~明天就来台风了
图片尺寸500x415
缆风绳的介绍
图片尺寸254x300
物料提升机缆风绳与地面的夹角不应大于多少度
图片尺寸600x341
墩身钢筋及时张拉缆风绳.
图片尺寸927x1919