钱包设计图纸手绘

六卡位长款钱夹图纸 打印可用哦
图片尺寸2480x3508
一种女性用多功能钱包的制作方法
图片尺寸1000x969
包包手绘技巧与方法教你钱包产品如何绘制
图片尺寸1080x810
矢量集的草图钱包
图片尺寸1100x1100
包包手绘技巧与方法教你钱包产品如何绘制
图片尺寸624x447
cn201782170u_一种带有记录功能的钱包失效
图片尺寸1424x1247
爱不释手零钱包简易图纸
图片尺寸1080x1439
手绘帆布包手绘包钱包中国风民族古风简约帆布棉麻文艺森系
图片尺寸1080x1080
包包手绘技巧与方法教你钱包产品如何绘制
图片尺寸1080x810
钱包制造技术
图片尺寸1000x887
一种具有携带手机功能的钱包的制作方法
图片尺寸1000x719
一个钱包草图
图片尺寸1200x1087
手绘作品—钱包
图片尺寸1280x853
白色手绘手提钱包
图片尺寸610x503![[临摹]手绘素描 - 皮质钱包 & 玻璃啤酒杯](https://imgs.wantubizhi.com/img/A1A61BAA66193547F3A6DD7D8EE527E94F0B46E4E8C38DD782A76D6F2393395545D50DAC5DFB439F0C1E789823372B772B0D1277A2CE62505DF2F4B6B0A11577DF7A4D841FB8C4EDBC8035387B65465A60AB76A380FDA648EA86BE5993621337)
[临摹]手绘素描 - 皮质钱包 & 玻璃啤酒杯
图片尺寸3000x2004
手绘钱包~纪念科比|手工艺|工艺品设计|影小鱼儿_原创作品-站酷zcool
图片尺寸1280x1707
手绘钱包设计图__生活用品_生活百科_设计图库_昵图网nipic.com
图片尺寸1024x654
纯手工钱包图纸
图片尺寸446x630
女士零钱包设计图
图片尺寸320x318
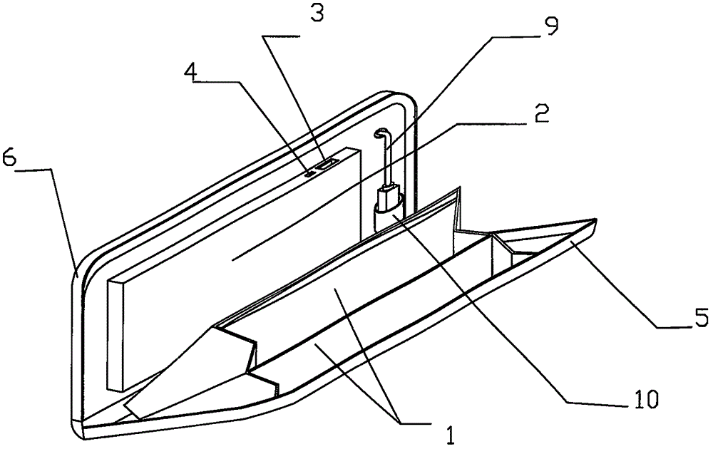
一种无线充电钱包
图片尺寸1000x630