钻孔简笔画

施工钻孔图标轮廓样式
图片尺寸1029x1200
电钻钻孔矢量diy
图片尺寸610x579
关键词 : 技术,施工,钻,改进,工具,器皿,钻孔机,施工工具
图片尺寸512x512
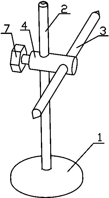
图1-44 钻孔时
图片尺寸427x805
钻孔
图片尺寸256x256
钻孔
图片尺寸256x256
钻孔
图片尺寸256x256
钻头图标轮廓样式
图片尺寸760x1200
钻头
图片尺寸256x256
电钻,工具,建筑,修理,矢量,概念,隔绝,插画
图片尺寸350x350
钻图标
图片尺寸512x512
牙钻补牙钻头转动音效素材-牙钻补牙钻头转动音效插画-摄图新视界
图片尺寸300x300
在矩形钢板的中心处钻孔的方法
图片尺寸354x642
钻头简笔画步骤图片
图片尺寸800x450
钻
图片尺寸1066x1200
榫卯真的被"玩坏"了吗?聊一聊适合cnc加工的12种榫卯结构
图片尺寸400x400
钻孔机简笔画
图片尺寸381x1000
钻图标
图片尺寸512x512
一种金刚磨具磨盘自动钻孔加工装置-爱企查
图片尺寸332x272
大钻机图标
图片尺寸512x512