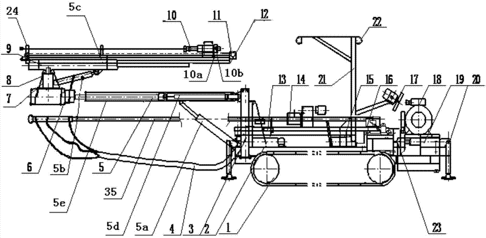
钻孔车结构

一种矿用钻车制造技术
图片尺寸1000x713
一,钻车结构 开山 kc120型潜孔钻车结构见图(九)
图片尺寸439x597
一种高效道路钻孔车-爱企查
图片尺寸571x483
隧道Ⅳ级围岩全环开挖钻孔爆破用三臂凿岩台车的制作方法
图片尺寸1000x486
一种地质勘探用移动式钻探车
图片尺寸428x443
一种高通过性液压掘进钻车
图片尺寸1987x1080
kj311全液压掘进钻车
图片尺寸520x360
一种矿井全自动液压钻车的制作方法
图片尺寸1000x827
kj311全液压掘进钻车
图片尺寸520x360
kj313型全液压掘进钻车
图片尺寸600x498
栽树打孔车
图片尺寸820x452
履带行走式锚杆钻车
图片尺寸709x604
kj311型全液压掘进钻车
图片尺寸430x380
栽树打孔车
图片尺寸820x641
kj212型全液压掘进钻车
图片尺寸581x544
kj311全液压掘进钻车
图片尺寸600x270
日立建机矿用卡车eh3500acⅡ产品高清图-工程机械在线
图片尺寸550x448
一种矿用六臂锚杆锚索钻车
图片尺寸2057x1042
一种环保型钻孔车用钻孔装置制造方法及图纸
图片尺寸1000x811
用于巷道大空孔直眼掏槽爆破的全断面快速钻孔钻车
图片尺寸1000x489