铆钉机构的结构简图

机构运动简图测绘铆钉机构简易冲床装订机构
图片尺寸685x581
背景技术:铆钉是铆合部件确保结构稳固又不影响使用的一个重要部件
图片尺寸772x1000
cn213496295u_一种自动上料铆钉机有效
图片尺寸1594x1627
各部分结构技术原理及流程:压边圈首先向下运动对铆接材料进行预压紧
图片尺寸640x594
cn211564401u_一种便于微调的铆钉机有效
图片尺寸1397x2127
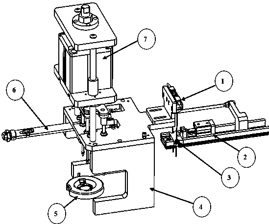
一种自动铆钉机的铆钉输送机构的制作方法
图片尺寸1000x812
铆钉分钉机构制造技术
图片尺寸938x1000
一种便于微调的铆钉机的制作方法
图片尺寸659x1000
径向机动力结构图.jpg
图片尺寸826x1168
空心铆钉装配机构
图片尺寸553x466
解 1)取比例尺 l绘制其机构运动简图(图b).
图片尺寸650x502
铆钉的铆接运动提供动力支持的,其采用由马达与大梁杠杆组成的结构
图片尺寸584x992
径向铆接机旋铆机结构及工作原理介绍
图片尺寸718x999
一种铆钉冲压机构
图片尺寸1493x2179
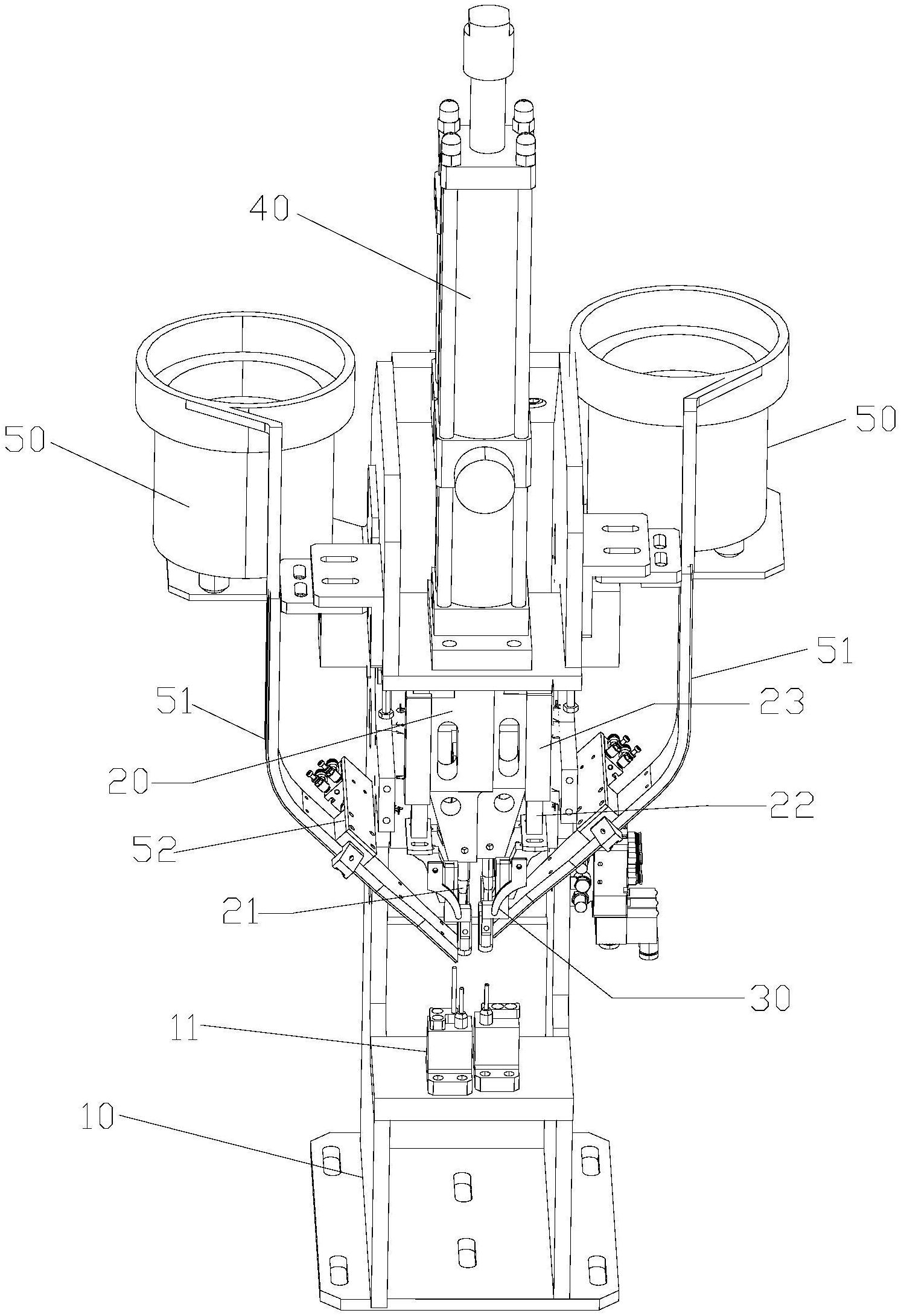
一种铆钉自动装配机构-爱企查
图片尺寸1518x1399
铆钉是怎么被铆接的这篇文章讲清楚
图片尺寸441x265
一种可调式冲压件自动插铆钉机构的制作方法
图片尺寸1000x816
摆辗机动力结构图.jpg
图片尺寸826x1169
气液铆钉机气液铆接机压铆机
图片尺寸861x761
cn105057547b_空心铆钉装配机构有效
图片尺寸549x458