铆钉结构简图

铆钉的组成示意图
图片尺寸826x1314
抽芯铆钉的分类用途以及注意事项
图片尺寸662x452
cn2106933u_组合铆钉失效
图片尺寸1696x1029
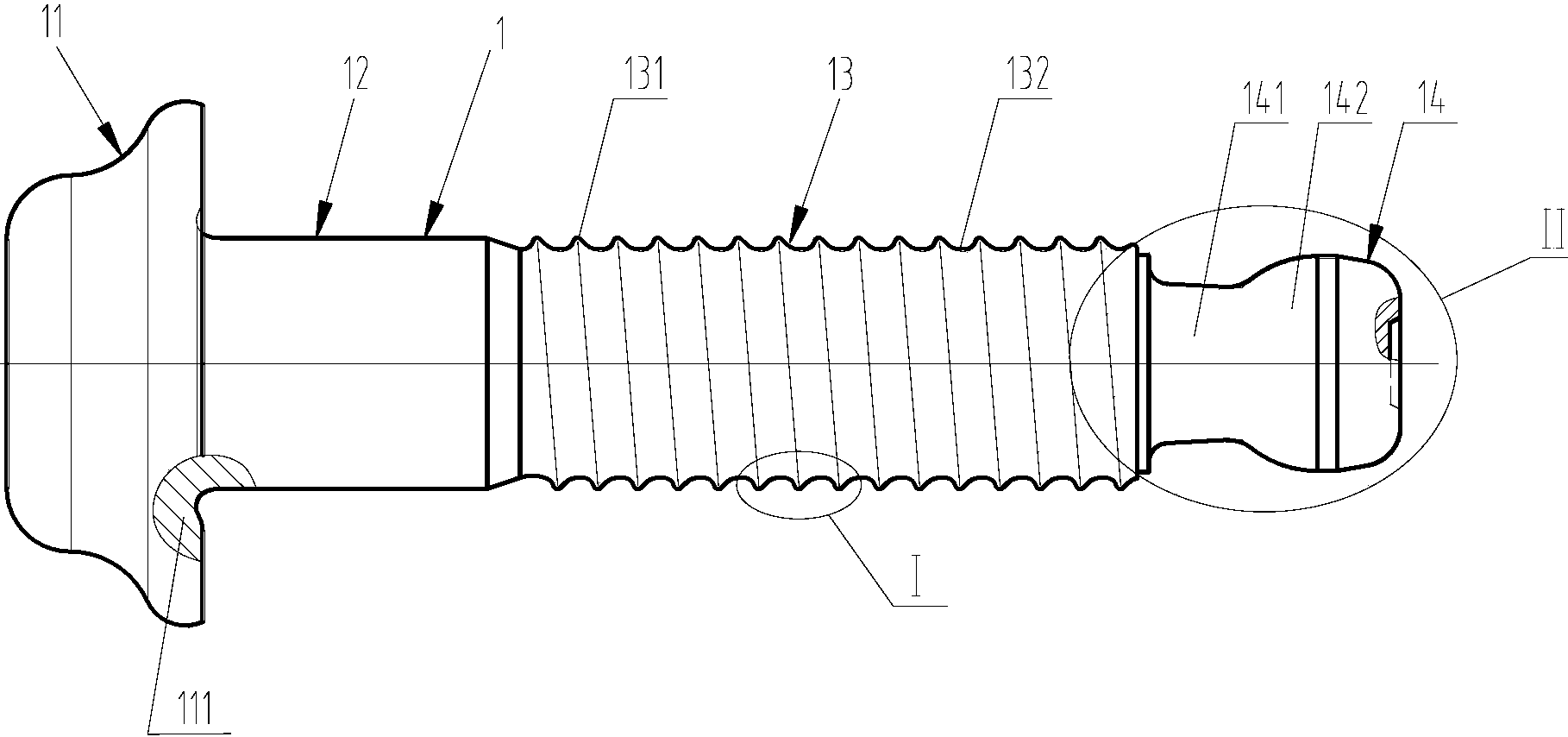
一种安装铆钉的制作方法
图片尺寸1000x825
cn206988262u_一种短尾拉铆钉有效
图片尺寸1818x854
qib/ind aam 铝合金沉头外锁拉丝铆钉
图片尺寸2245x1387
航母上的铆钉不止贵还
图片尺寸548x467
5*52,铝半空心铆钉
图片尺寸1920x1456
机构运动简图测绘铆钉机构简易冲床装订机构
图片尺寸685x581
推入式铆钉
图片尺寸601x379
【厂家直销】平头铁铆钉/元头铁铆钉/半圆头铁铆钉 可定做
图片尺寸743x628
风扇铆钉hsr-7a--hsr-7b
图片尺寸320x361
本实用新型涉及机械连接结构技术领域,尤其涉及一种铆钉.
图片尺寸584x919
一种肩袖外排铆钉的制作方法
图片尺寸1000x823
扁圆头半空芯铆钉gb873-∮6x28 标准图纸
图片尺寸497x265
一种旋转焊接铆钉的制作方法
图片尺寸941x918
络展厂家直销 塑胶铆钉 尼龙铆钉 rk26-24 规格齐全 品质保证
图片尺寸534x477
一,产品简图(product sketch)详细描述系列:塑料抽芯铆钉 gz3570产地
图片尺寸341x383
铆钉型螺栓
图片尺寸2441x1701
对于飞机来说,小小的铆钉功不可没
图片尺寸380x582