链条张紧装置结构图

链传动张紧装置及链条传动张紧方式图集
图片尺寸820x588
cn212338055u_一种铸锭机链条张紧装置有效
图片尺寸1780x1223
cn113048201a_一种链条张紧机构在审
图片尺寸1697x1894
所述输送装置采用链条传动方式,并设置有链条张紧机构,可防止链条松动
图片尺寸1000x691
链条传动机构用链条张紧装置的制作方法
图片尺寸869x1000
一种链条自动张紧装置的制作方法
图片尺寸1000x777
一种切丝机下排链传动链条张紧轮自动张紧装置的制作方法
图片尺寸390x338
本发明提出了一种链传动的张紧装置,用于解决链传动过程中链条的松弛
图片尺寸1506x1427
一种智能型链条张紧装置-爱企查
图片尺寸1942x1066
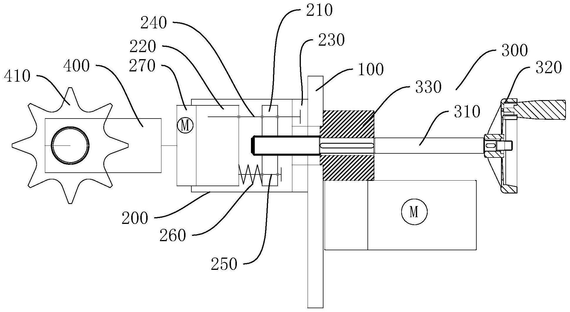
cn201053481y_一种链条张紧装置失效
图片尺寸1910x1236
一种链传动张紧装置制造方法及图纸
图片尺寸914x1000
一种柔性链条张紧装置的制作方法
图片尺寸1000x946
一种刮板机输送链条张紧装置的制作方法
图片尺寸945x1000
链条张紧装置的制作方法
图片尺寸768x1000
链轮双向张紧装置
图片尺寸820x424
一种驱动链条张紧装置的制作方法
图片尺寸1000x680
一种柔性链条张紧装置的制作方法
图片尺寸443x420
一种链条自动张紧机构-爱企查
图片尺寸1600x1519
链条调节张紧装置
图片尺寸1456x1415
一种工程车辆链条张紧润滑装置
图片尺寸1923x1387