销轴安装

安装连接销轴
图片尺寸750x1000
安装时未装或用其它代替开口销 ;3.不装压板或将销轴与结构焊接.
图片尺寸642x383
原厂bj500gs-a金鹏trk502502x前脚蹬安装弹簧销子前脚踏安装销轴
图片尺寸800x600
写美篇3,牛筋板安装在销轴上的视频.
图片尺寸2000x2667
销轴 带孔轴不锈钢轮轴diy创意手工拼装模型玩具安装固定配件
图片尺寸800x800
微特公司生产并安装在架桥机上的轴销传感器
图片尺寸633x682
水务一循105凉水塔风机联轴器安装培训
图片尺寸675x1200
大量图片图文并茂塔吊安装维保安全检查及案例ppt下载
图片尺寸960x720
保证安全; 3,挖掘机配置件无需改装,也不用拆卸销轴就能更换,因此安装
图片尺寸1080x1080
销轴的计算公式
图片尺寸418x289
沈西工队落实车间重点工作,对即将开通道岔锁勾连接铁销轴注黄干油
图片尺寸3120x4160
卷板机销轴安装装置-爱企查
图片尺寸1188x1136
铲车大臂油缸销轴打不掉怎么办?
图片尺寸600x450
大臂连接销轴开口销未安装(也有可能没有打开,自己脱落了)
图片尺寸1000x1333
销轴双面有头现场如何安装
图片尺寸620x620
引进平台连接销轴开口销用铁丝代替,另一边开口销未安装
图片尺寸1598x1198
造成销轴自动退出掉落;(3)回转下支座与套架的孔不同轴,导致销轴安装
图片尺寸510x568
图2-20 斗杆销轴安装时的o 形环位置④拆卸销轴时,要特别注意不要站在
图片尺寸828x507
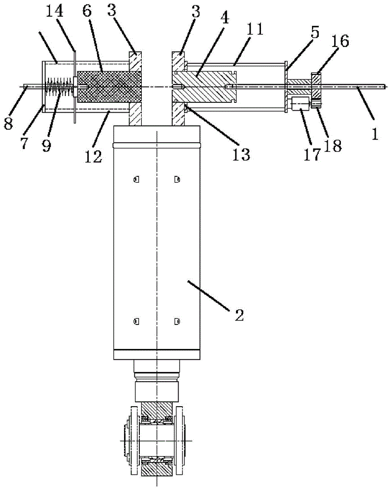
cn110284481a_一种油缸销轴连接的高空安装装置在审
图片尺寸797x1000
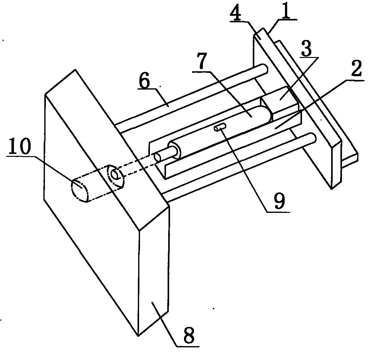
一种转毂销轴安装工装的制作方法
图片尺寸518x559