销轴结构

asmeansib18812014销轴
图片尺寸2245x1387
滚轮销轴
图片尺寸376x381
jg/t 5117-1999液压挖掘机 工作装置用销轴.pdf 12页
图片尺寸792x1148
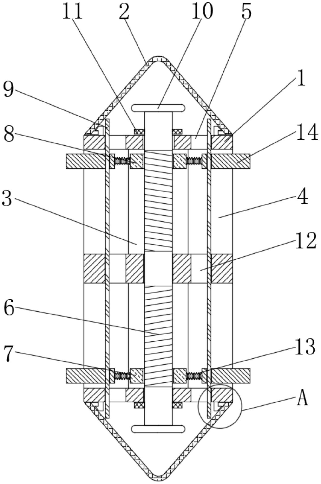
其包括销轴本体,所述销轴本体的外壁设置有两个防护结构,所述销轴本体
图片尺寸1733x1077
销轴连接结构简图
图片尺寸1053x562
销轴pdf
图片尺寸800x1132
一种行星齿轮传动变刚度柔性销轴均载结构_cn201911332947.1_知雀网
图片尺寸695x1000
一种可双向快速拆装的销轴结构
图片尺寸1333x2007
销轴图a3
图片尺寸594x420
gb 882 销轴(a型 无孔)
图片尺寸2245x1387
一种行星齿轮传动变刚度柔性销轴均载结构_cn201911332947.1_知雀网
图片尺寸673x1000
一种可双向快速拆装的销轴结构的制作方法
图片尺寸664x1000
销轴安装结构,松土器和推土机
图片尺寸1839x1268
本实用新型公开一种连接销轴,用于连接两个结构部件,包括销轴本体
图片尺寸2206x1178
一种具有新型结构的销轴-爱企查
图片尺寸1566x783
销轴图
图片尺寸820x586
销轴a4.dwg
图片尺寸1200x800
销轴的计算公式
图片尺寸418x289
问答列表 简单的话可用开口销和销轴连接.
图片尺寸279x262
一种销轴组件-爱企查
图片尺寸1368x976