锤片式粉碎机结构简图

风选锤式粉碎机的结构详解
图片尺寸596x487
单段锤式破碎机
图片尺寸377x275
锤式粉碎机结构及其优点
图片尺寸545x476
锤式破碎机结构图片
图片尺寸1000x694
锤式破碎机结构.jpg
图片尺寸690x470
锤片式粉碎机
图片尺寸1792x1660
一种用于物料粉碎的锤片式粉碎机制造技术
图片尺寸1000x984
一种锤片式粉碎机制造技术
图片尺寸1000x761
一种高效锤片式粉碎机
图片尺寸1719x2007
锤片式饲料粉碎机设计
图片尺寸1200x800
石灰石锤式破碎机结构图
图片尺寸720x477
锤片式粉碎机
图片尺寸487x361
锤式破碎机主要是靠锤子冲击作用破碎物料,如下图:二,锤式破碎机结构
图片尺寸257x331
1100tph锤式破碎机结构
图片尺寸600x450
一种兽药制备用锤片式粉碎机
图片尺寸1713x1218
锤片式秸秆粉碎机的制作方法
图片尺寸956x1000
一种锤片式粉碎机
图片尺寸1620x1535
cn2266460y_锤片粉碎机失效
图片尺寸2000x1876
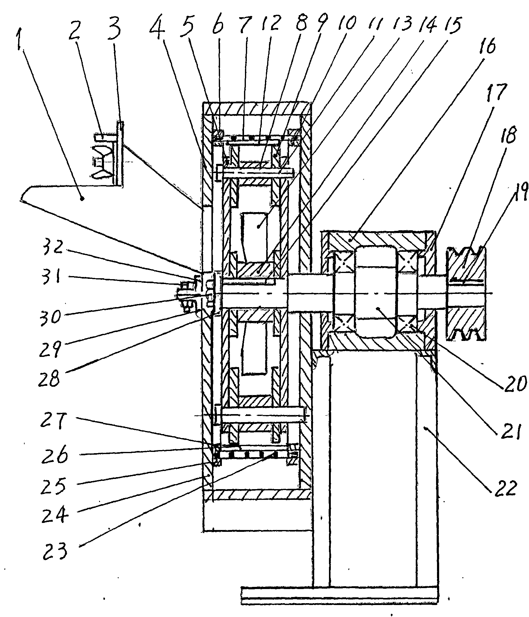
经高速转动的锤体与物料碰撞面破碎物料,以往的锤片式粉碎机结构复杂
图片尺寸881x1000
一种锤片式饲料粉碎机的制作方法
图片尺寸1000x881