闸机内部结构

道闸机内部结构接线
图片尺寸700x448
高铁自动检票机自助核验闸机智轨自动检票机自助检票闸
图片尺寸521x386
afc实训系统_旅游景区检票闸机_伸缩门式检票闸机
图片尺寸750x530
携进停车场道闸车牌识别系统小区栅栏道闸机 栅栏道闸5.1-6米
图片尺寸790x509
地铁闸机产品结构设计3d模型下载
图片尺寸1059x696
一种采用摆闸结构的闸机
图片尺寸1766x1775
huacai华彩户外高亮显示屏户外广告机户外一体机车牌识
图片尺寸800x1282
依必安派特一台优秀的检票闸机是如何炼成的
图片尺寸660x373
内部
图片尺寸820x503
核算装置的制造及其应用技术
图片尺寸908x1000
道路铁路或桥梁建设机械的制造及建造技术
图片尺寸842x1000
三棍闸机与ic卡读写器结合,便构成智能三棍闸机
图片尺寸1175x811
本实用新型涉及检票门禁闸机技术领域,尤其涉及一种
图片尺寸404x444
cn210031604u_闸机结构有效
图片尺寸801x1000
道路铁路或桥梁建设机械的制造及建造技术
图片尺寸419x444
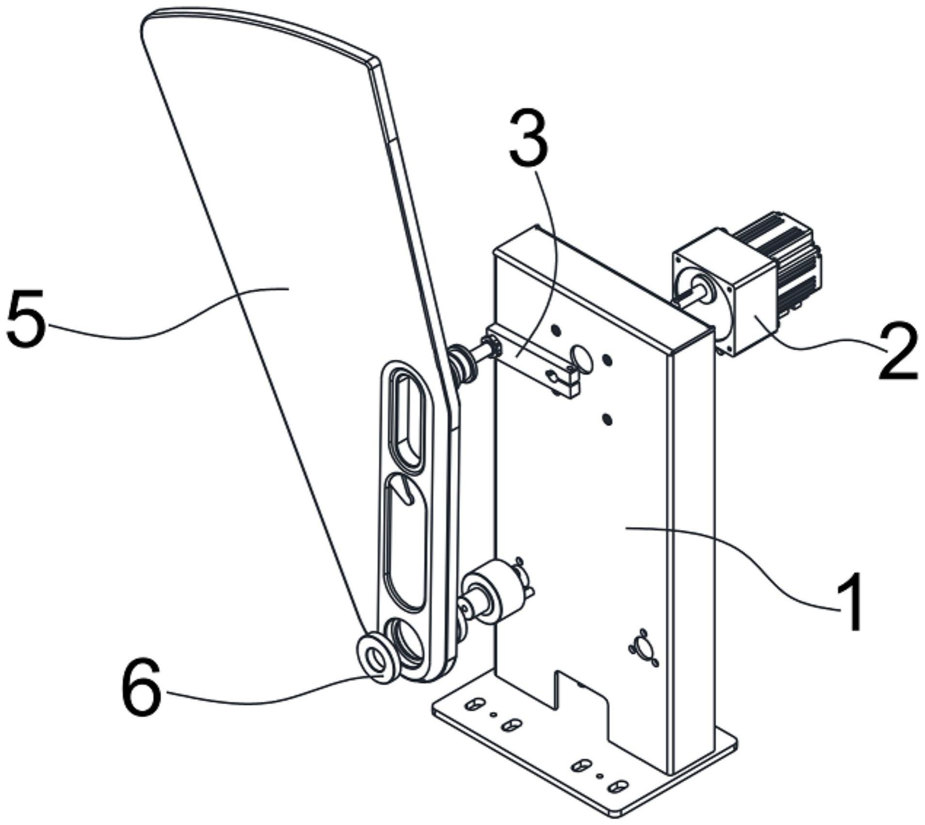
本发明涉及门禁安防技术领域,具体是一种通道闸机直驱
图片尺寸1906x1700
(1)动 力 源:马达,减速器(减速马达)一,智能闸机内部动力源基本原理
图片尺寸487x437
核算装置的制造及其应用技术
图片尺寸1000x786
车站的旋转闸门怎么保证每次只过一人
图片尺寸500x316
从摆闸原理图开始,带你了解通道摆闸的功能特征_手机搜狐网
图片尺寸600x372