防护栏简笔画

简单漂亮的栅栏怎么画-图1简笔画作品完成图
图片尺寸720x480
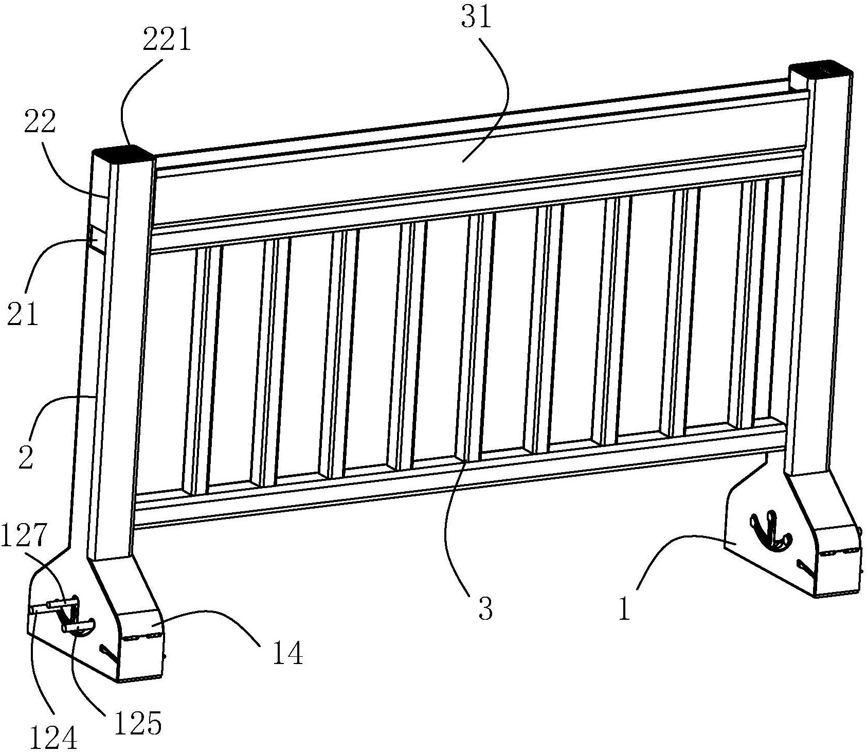
一种施工用防护栏
图片尺寸1846x2151
栅栏简笔画
图片尺寸900x600
围栏与地毯线图标
图片尺寸1100x1100
一种园林花草防护栏的制作方法
图片尺寸444x349
一种市政工程用施工防护栏-爱企查
图片尺寸1637x1058
栅栏简笔画 栅栏简单画法
图片尺寸800x450
围栏木制孤立图标
图片尺寸1100x1157
围栏27矢量素材
图片尺寸600x600
一种施工用防护栏的制作方法
图片尺寸857x1000
多用途建筑施工安全防护栏单元-爱企查
图片尺寸799x787
一种市政道路防护栏-爱企查
图片尺寸1686x1464
一种旅游用临时排队安全防护护栏
图片尺寸1859x1332
摘要附图摘要实用新型公开了防护栏技术领域的一种拉伸镀锌板护栏
图片尺寸1380x1331
一种房建施工防护栏的制作方法
图片尺寸443x418
栅栏简笔画亲子绘画
图片尺寸900x600
市政绿化隔离防护栏的制作方法
图片尺寸1000x749
火车道口栏杆简笔画
图片尺寸500x281
公路,商业区,公共场所等场合中对人身安全及设备设施的保护与防护
图片尺寸1000x928
一种便于拆装的基坑防护栏的制作方法
图片尺寸488x342