防撞结构

cn112780932a_一种计算机显示屏用防撞结构
图片尺寸1696x1510
由于一些车辆使用的防撞梁的材料或结构标准很低,比如使用单层辊压
图片尺寸525x309
防撞梁怎么更换
图片尺寸500x277
从漳州车祸再说汽车安全,提出对本坛主封口贴的异议.
图片尺寸700x432
一种适用于公路自复位防撞护栏结构
图片尺寸1271x992
一种护栏防撞结构的制作方法
图片尺寸444x423
一种满足多种配置的前防撞梁结构
图片尺寸1408x884
一种新型侧防撞架结构
图片尺寸1113x1205
一种具有缓冲性能的测井仪器用防撞保护结构
图片尺寸1244x2421
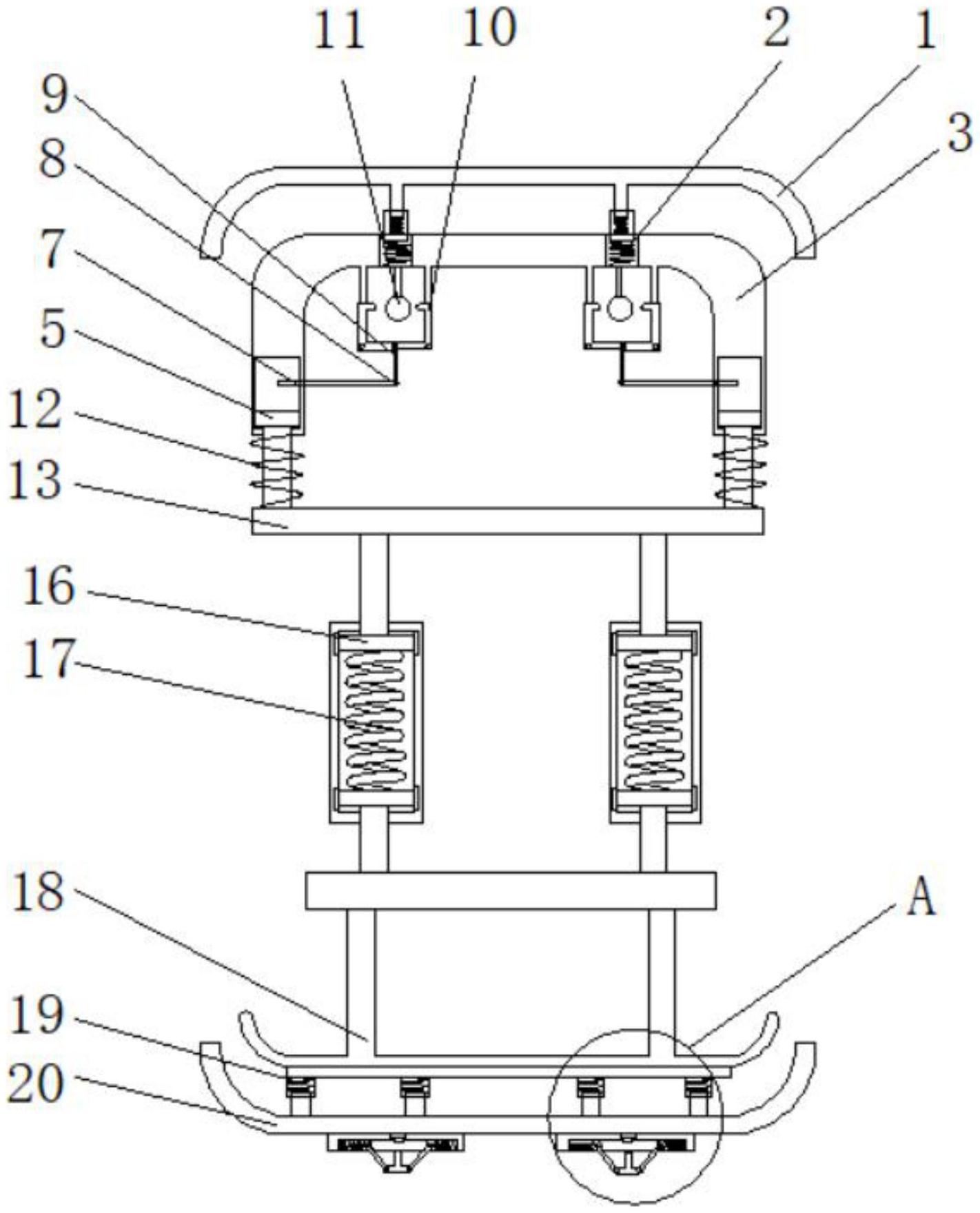
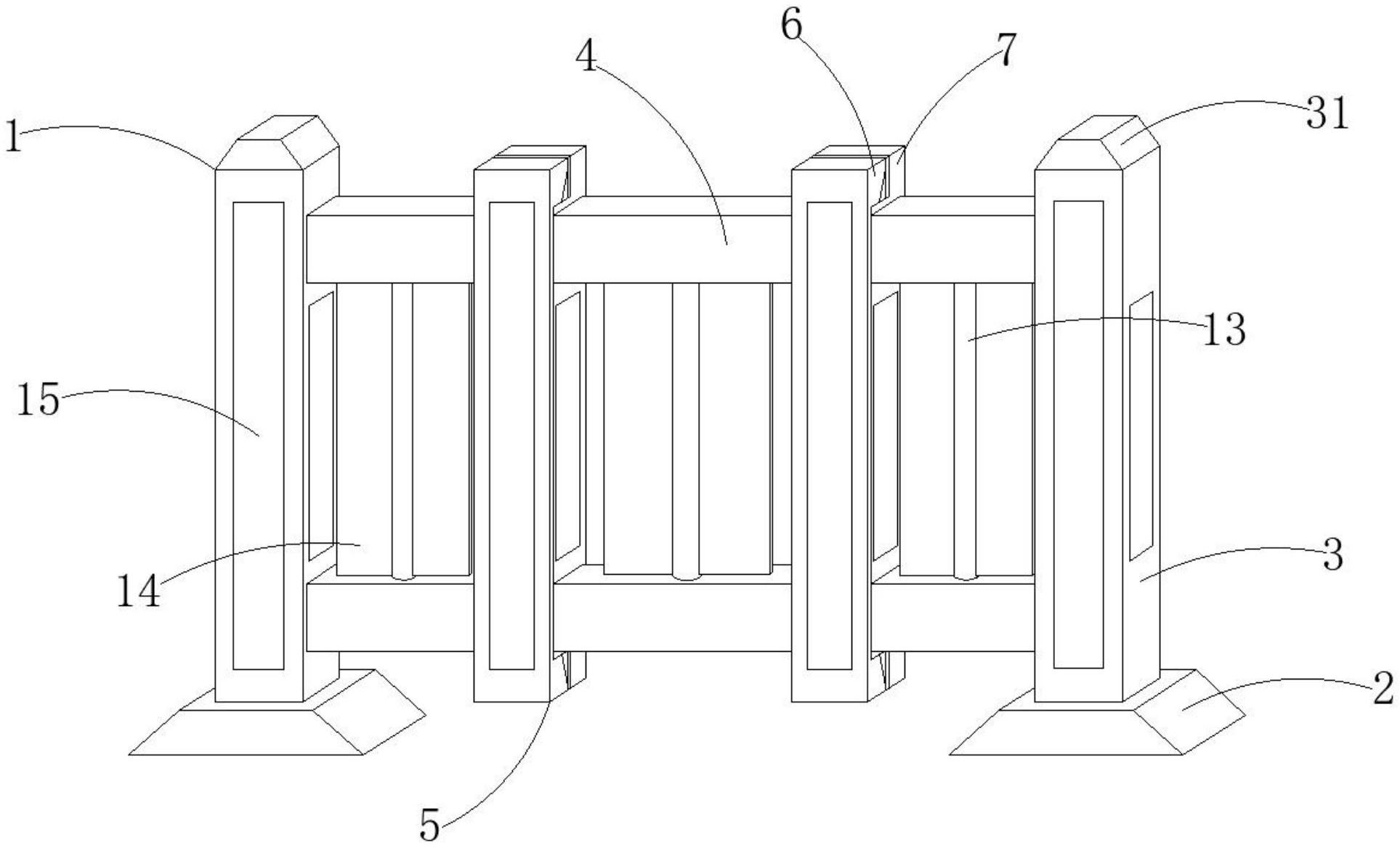
一种市政工程用围栏的轻型防撞结构
图片尺寸1927x1167
一种计算机显示屏用防撞结构
图片尺寸1000x890
cn107697010a_一种油罐车的防撞梁结构在审
图片尺寸1199x904
一种具有高强度防撞结构的汽车仿真撞击装置
图片尺寸1422x1760
货车防撞梁结构设计
图片尺寸712x815
一种工程机械用防撞梁结构
图片尺寸1000x638
cn213116122u_一种电动伸缩门用防撞结构
图片尺寸1590x873
一种土壤检测仪用防撞结构
图片尺寸1517x918
长安cx70的前后防撞钢梁,长安cx70防撞钢梁结构图
图片尺寸500x334
一种市政工程用围栏的轻型防撞结构的制作方法
图片尺寸1000x607
一种厢式冷藏车尾端防撞梁结构的制作方法
图片尺寸443x290