防滑结构

一种不掉砂不露底的彩色防滑方案
图片尺寸599x412
防滑坡道结构图
图片尺寸590x405
微珠防滑涂层结构图.jpg
图片尺寸619x732
一种活动地板的防滑结构-爱企查
图片尺寸1650x1327
一种具有防滑结构的楼梯的制作方法
图片尺寸963x1000
建筑地面工程防滑技术规程jgjt3312014
图片尺寸350x252
一种路面防滑结构及其使用方法
图片尺寸1000x627
热镀锌防滑抗锈室外楼梯踏步钢结构户外一整套组装二层阁楼钢架
图片尺寸1200x1200
嵌入式彩色防滑路面工程结构图
图片尺寸562x444
彩色防滑路面构成结构图.jpg
图片尺寸634x278
一种市政道路工程设计防滑结构的制作方法
图片尺寸444x357
一种公路路面防滑结构的制作方法
图片尺寸443x282
cn211922153u_一种防滑耐磨的透水铺砌路面结构
图片尺寸1735x1223
一种防滑地坪结构的制作方法
图片尺寸1000x696
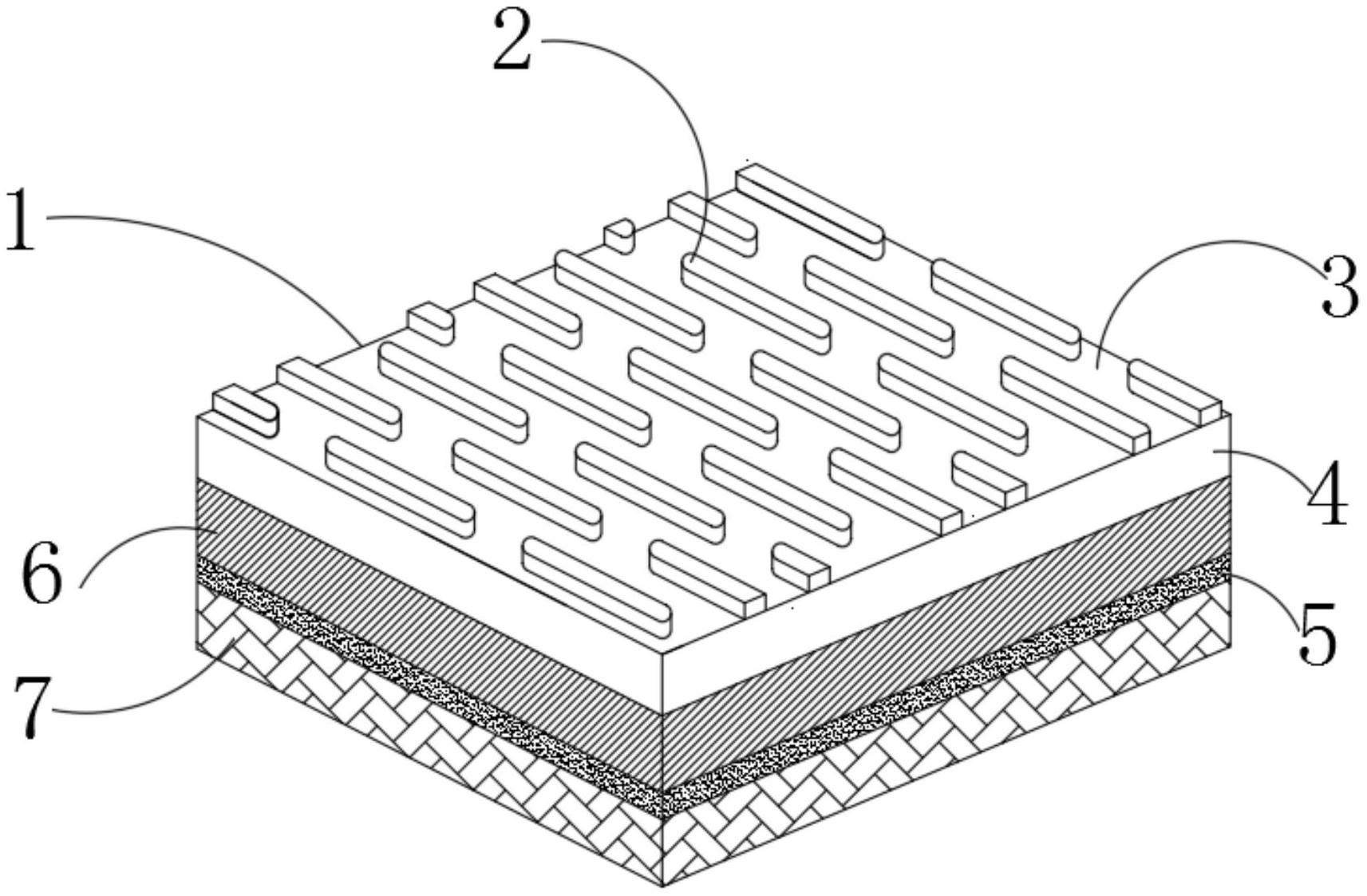
所述耐磨涂层表面安装有多组防滑块,所述防滑块为长条形结构,且防滑块
图片尺寸1713x1123
一种市政道路设计防滑结构的制作方法
图片尺寸443x327
一种市政道路工程设计防滑结构的制作方法
图片尺寸444x426
一种卫生间用防滑墙体结构的制作方法
图片尺寸545x1000
一种应用于鞋底的防滑结构的制作方法与工艺
图片尺寸980x1000
a: 地坪流程结构图: b:涂装型环氧树脂坡道防滑地坪工艺: 1,地坪基面
图片尺寸893x319