防爆电机接线盒结构图

一种低电压大电流高防护等级的三相电机接线盒结构的制作方法
图片尺寸338x443
接线盒结构示意图
图片尺寸757x441
一种方便接线的隔爆型防爆接线盒的制作方法
图片尺寸397x444
yb3系列隔爆型三相异步电动机接线盒结构
图片尺寸638x438
是一种隔爆型安装板结构的全新结构防爆接线盒
图片尺寸444x255
本实用新型涉及一种防爆电机接线盒,具有薄壁钣金结构的盒座和盒盖,盒
图片尺寸2007x1171
防爆接线盒
图片尺寸583x418
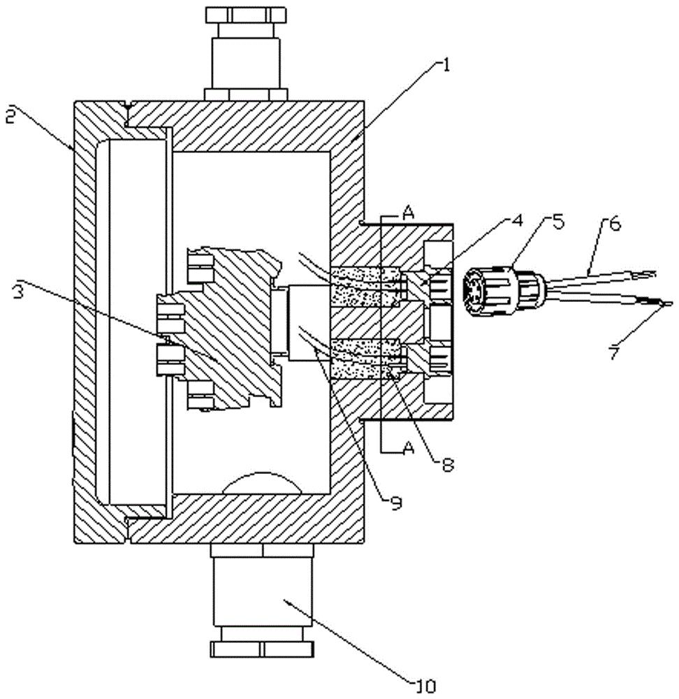
具体提出一种带插接结构的防爆接线盒,主要特点是对现有的防爆电机的
图片尺寸972x1000
一种ybx4高效率隔爆型三相异步电动机辅助测温接线盒的制作方法
图片尺寸515x407
110kw660v电机隔爆型接线盒组件
图片尺寸820x575
【技术保护点】一种防爆电动机兼测温防爆接线盒,结构包括防爆电动机
图片尺寸1000x575
fdh-2电热带防爆电源接线盒 专业出售防爆接线盒 价格.
图片尺寸618x805
矿用防爆箱接线盒 厂家定制带煤安证 安全可靠
图片尺寸800x604
防爆终端接线盒
图片尺寸522x557
防爆二通接线盒_安徽领航仪表有限公司
图片尺寸559x260
防爆三通接线盒,fjh防爆二通接线盒,防爆两通接线盒,防爆四通接分线盒
图片尺寸518x603
防爆终端接线盒安装示意图
图片尺寸378x261
一种电气设备所使用的防爆箱的制作方法
图片尺寸774x1000
防爆配电箱整体接线图.png
图片尺寸400x277
隔爆型电机接线盒电缆格兰头npt3/8_防爆格兰头安装步骤
图片尺寸640x465