阴角模板

阴角模
图片尺寸478x470
建筑用阴角模板-爱企查
图片尺寸1512x1203
介绍阴阳角模板质量通病以及防治措施
图片尺寸500x448
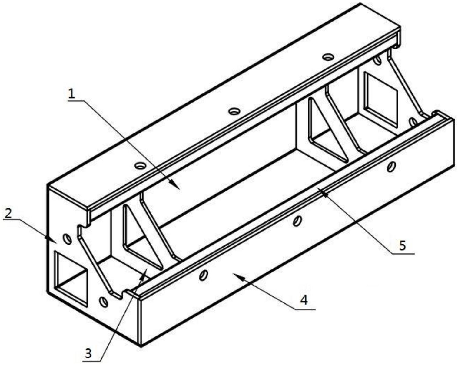
阴角模板(t60x50)
图片尺寸1143x1215
建筑建材钢模板阴角模板
图片尺寸1024x682
阴阳角模板
图片尺寸500x449
阴角模阳角模
图片尺寸600x337
71楼板阴角模板
图片尺寸709x531
云南阴角钢模板规格 量大从优
图片尺寸1152x864
倒角钢模板阴角模板阳角模板
图片尺寸1300x975
建筑模板---塑钢阴角
图片尺寸645x623
一种铝木结合模板的阴角板结构-爱企查
图片尺寸1085x741
水利钢模板 建筑大钢模板 肇庆工地直送
图片尺寸750x750
建筑工程模板施工工艺及质量控制措施(图文并茂)ppt
图片尺寸1080x810
铝合金阴角转角模板主要用于楼面阴角模板,墙面阴角模板以及楼面板
图片尺寸444x317
阴角钢模板
图片尺寸500x400
hugo的相册-建筑铝模板
图片尺寸540x405
柱墙阴角模板拼装
图片尺寸723x546
阴角和阳角支模 体系介绍 应用优势 所需条件 成本
图片尺寸1080x810
72楼板阴角转角模板
图片尺寸709x531