限位结构设计

生产后不能随意调节开闭车门的限位力,不同车型可能需要重新设计结构
图片尺寸1000x549
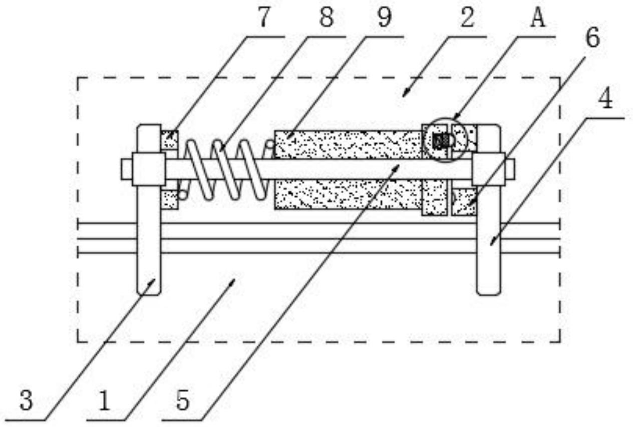
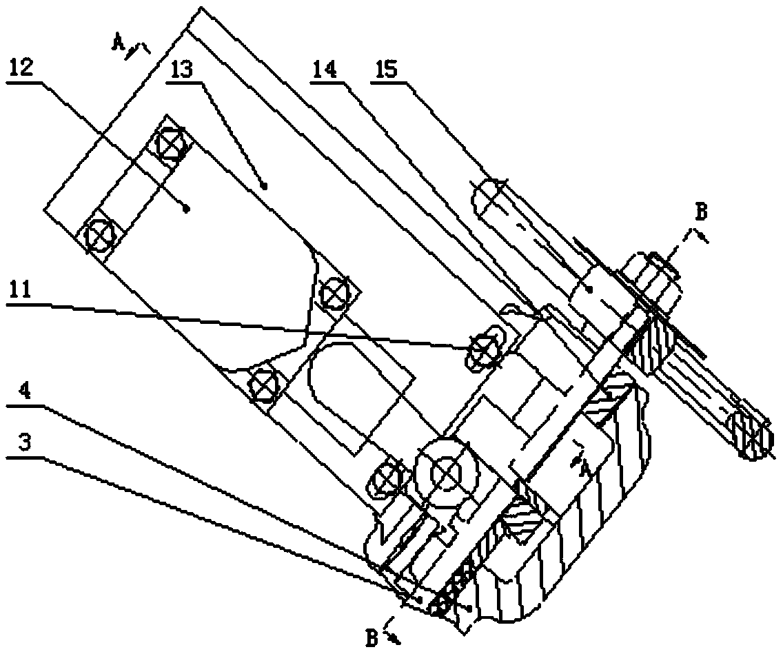
一种方管焊接限位装置
图片尺寸444x418
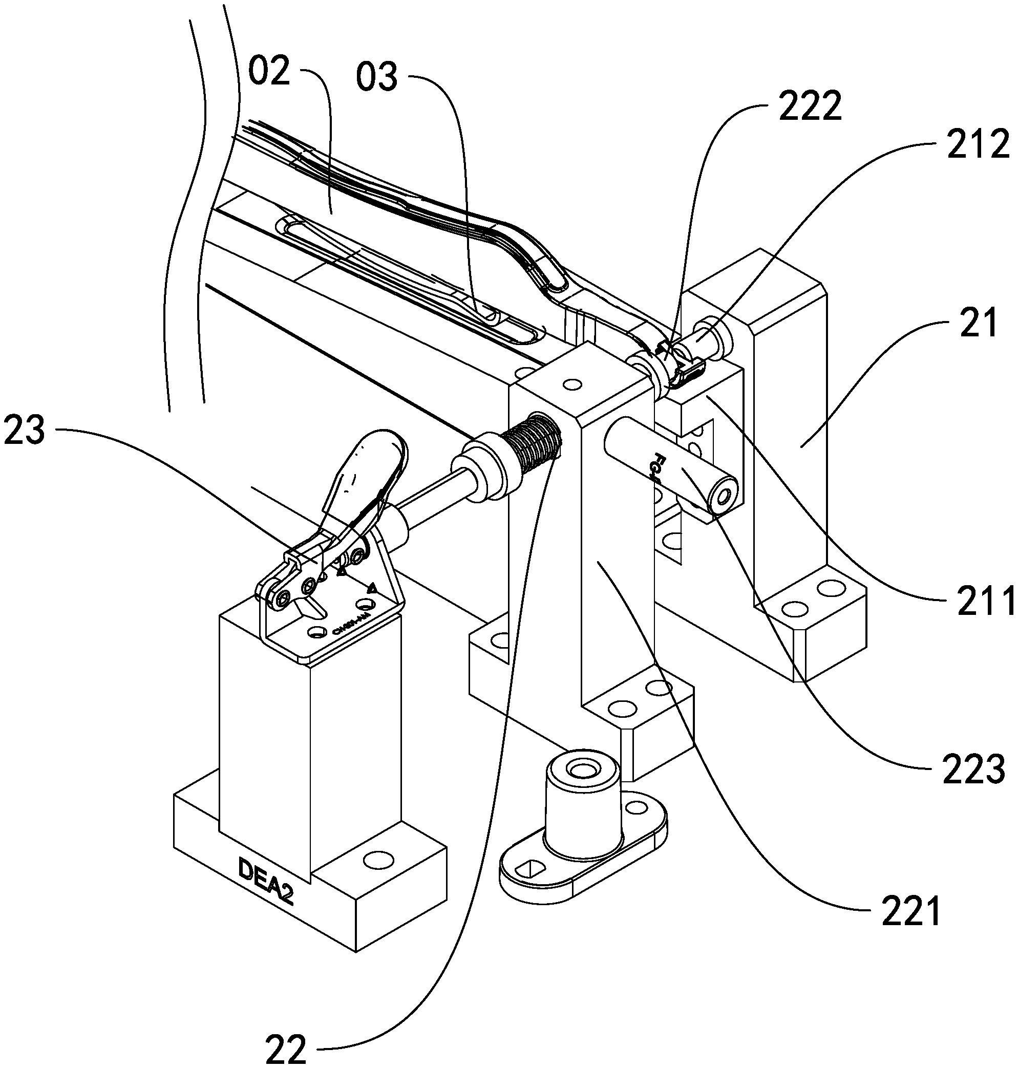
汽车挡风网检具的活动限位结构
图片尺寸1988x2088
一种转向限位加强结构
图片尺寸1764x2374
限位器结构图.png
图片尺寸451x423
一种滑动限位机构
图片尺寸1866x1195
cn202409974u_一种漫步机摆腿旋转限位机构失效
图片尺寸1689x1878
cn202418527u_转盘驱动限位结构有效
图片尺寸1139x1283
限位器设计指南
图片尺寸603x345
cn102108997a_一种限位机构有效
图片尺寸2420x1514
十字拨叉限位模型
图片尺寸589x720
位移开关的滑块限位结构的制作方法
图片尺寸1000x813
一种截止阀限位结构
图片尺寸1136x949
一种双工位限位机构的制作方法与工艺
图片尺寸695x1000
cn213371206u_一种基于保温杯的杯盖弹起缓冲限位结构
图片尺寸1268x853
stopper限位结构
图片尺寸628x558
cn201187997y_转台机械回转限位机构失效
图片尺寸1156x1905
开门机构底部限位结构如何设计?
图片尺寸1100x850
柜门自锁限位组件及安装柜门自锁限位组件的教学一体机制造技术
图片尺寸1000x844
气缸限位机构
图片尺寸820x573