集成灶风箱结构

一种导流效果优良的集成灶风箱结构的制作方法
图片尺寸862x1000
一种集成灶排烟风箱系统的制作方法
图片尺寸1000x753
一种可左右快速切换风箱的集成灶-爱企查
图片尺寸800x527
大吸力静音风箱结构设计的集成灶的制作方法
图片尺寸1000x774
一种集成灶内的集风箱结构-爱企查
图片尺寸2216x1736
一种便于安装在暖气片处的集成灶风箱的制作方法
图片尺寸765x1000
一种集成灶的风箱结构
图片尺寸1000x904
风箱里的乡愁和故事
图片尺寸640x454
一种集成灶可换向式风箱结构的制作方法
图片尺寸443x443
90%家庭都错了!集成灶一定不能这样用
图片尺寸609x606
一种集成灶独立风箱的蜗壳用油污电热清洗装置的制作方法
图片尺寸695x801
一种带调节风门的集成灶的制作方法
图片尺寸875x1000
集成灶值不值得买?
图片尺寸660x400
cn201354347y_新型供风方式的玻璃钢化炉用集风箱有效
图片尺寸1872x1659
一种简易更换出风方向集成灶的制作方法
图片尺寸531x583
产品结构图优雅高贵的钢琴造型,足可以让这款式的集成灶成为厨房里的
图片尺寸446x358
风箱的结构很简单,简简单单一个木箱子,却藏着最原始的
图片尺寸504x420
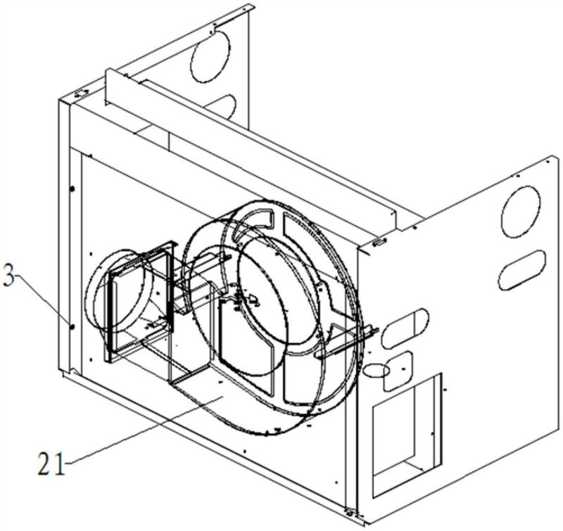
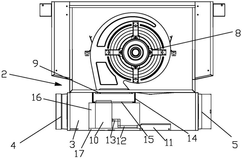
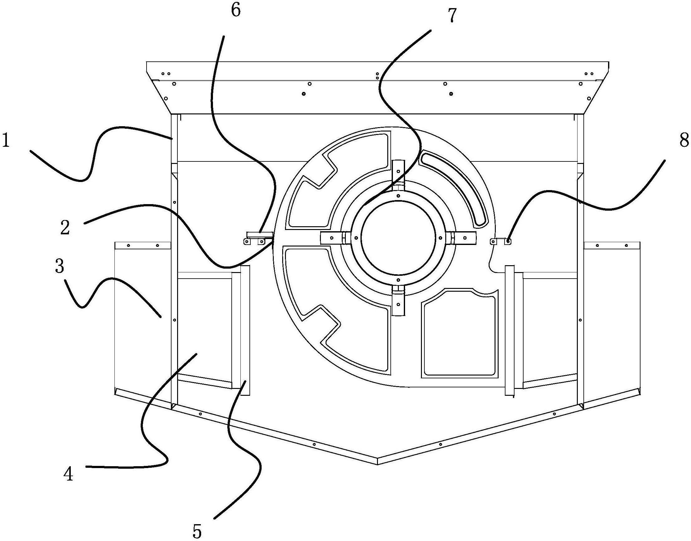
其左右两侧皆开设有排烟口,集成灶框架的后侧为中空结构;风箱,风箱内
图片尺寸800x755
一种抽屉式蒸箱的集成灶
图片尺寸963x1000
集成灶的出风方向进行改变,但由于可调整风箱的结构限制,难
图片尺寸888x1306