雨伞弹簧扣结构图

cn212185476u_一种自动伞防误开卡扣结构有效
图片尺寸1942x1536
cn201535086u_帐篷伸缩套杆弹簧扣有效
图片尺寸1687x1887
cn2076339u_手动及全自动开收的两用伞具失效
图片尺寸800x1068
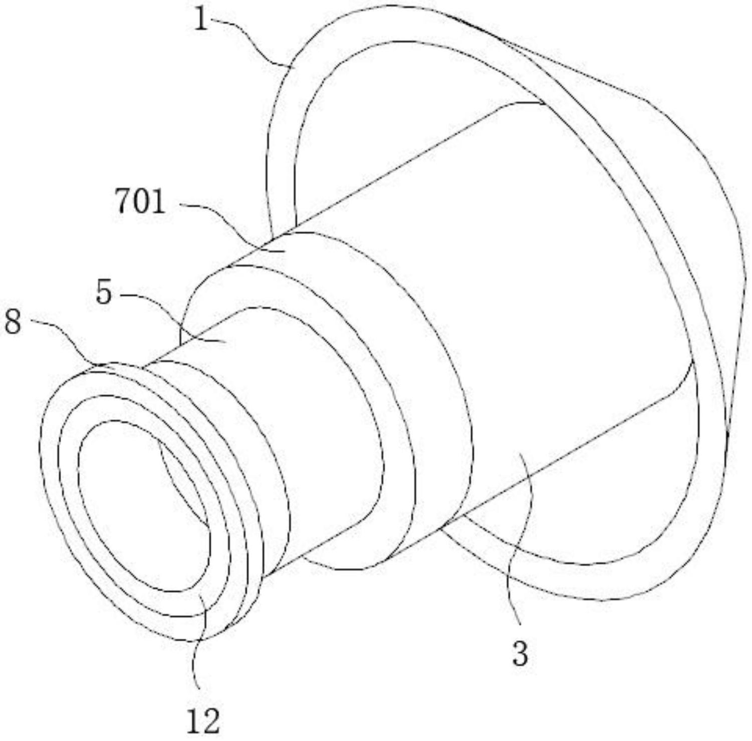
该按钮式锁扣结构包括:中棒,套环,下巢,按钮,弹簧;套环套接于中棒
图片尺寸1744x1730
一种用于户外便于进行支撑的遮阳伞的制作方法
图片尺寸1000x925
全自动晴雨伞中手柄的改良结构
图片尺寸718x934
cn104248150a_一种防刮手易开收的雨伞有效
图片尺寸861x1000
一种多折雨伞收伞扣合结构制造技术
图片尺寸456x1000
伞的构造
图片尺寸659x702
cn208480715u_一种自动伞的防误开结构有效
图片尺寸1289x1994
电动伞的自动伸缩结构的制作方法
图片尺寸694x1353
在手机上查看 专利详情
图片尺寸1514x2000
一种新型折伞收伞扣合结构的制作方法
图片尺寸1000x992
一种多功能雨伞
图片尺寸1704x1564
手动式遮阳伞的开合固定结构的制作方法
图片尺寸817x1000
一种带卡扣固定的自动伞
图片尺寸1150x1626
一种弹簧扣制造技术
图片尺寸843x1000
公开了一种加强型伞骨雨伞,包括撑杆,伞帽,主伞骨,副伞骨以及滑动结构
图片尺寸810x1006
一种安全型伞具的改进伞下巢的制作方法
图片尺寸797x1000
新型公开了一种雨伞缓冲器,包括接触板,所述接触板设置为喇叭形结构
图片尺寸1501x1479