靴子纸样

堆糖
图片尺寸400x560
一种防水雪地靴的制作方法
图片尺寸1000x892
全牛皮~kodibv切尔西烟筒短靴中筒真皮厚底英伦风马丁靴春秋单靴
图片尺寸750x994
服装鞋帽珠宝饰品制造的工具及其制品制作技术
图片尺寸1000x866
一种女靴
图片尺寸1590x1939
简单漂亮的靴子的手工图纸制作教程如何手工自制一款简约漂亮的雪地靴
图片尺寸747x626
靴子
图片尺寸1174x1598
小雪地靴图纸
图片尺寸1200x1663
【真牛皮】马丁靴女秋季新款短靴女中筒鞋子女鞋切尔西女雪地靴
图片尺寸750x1124
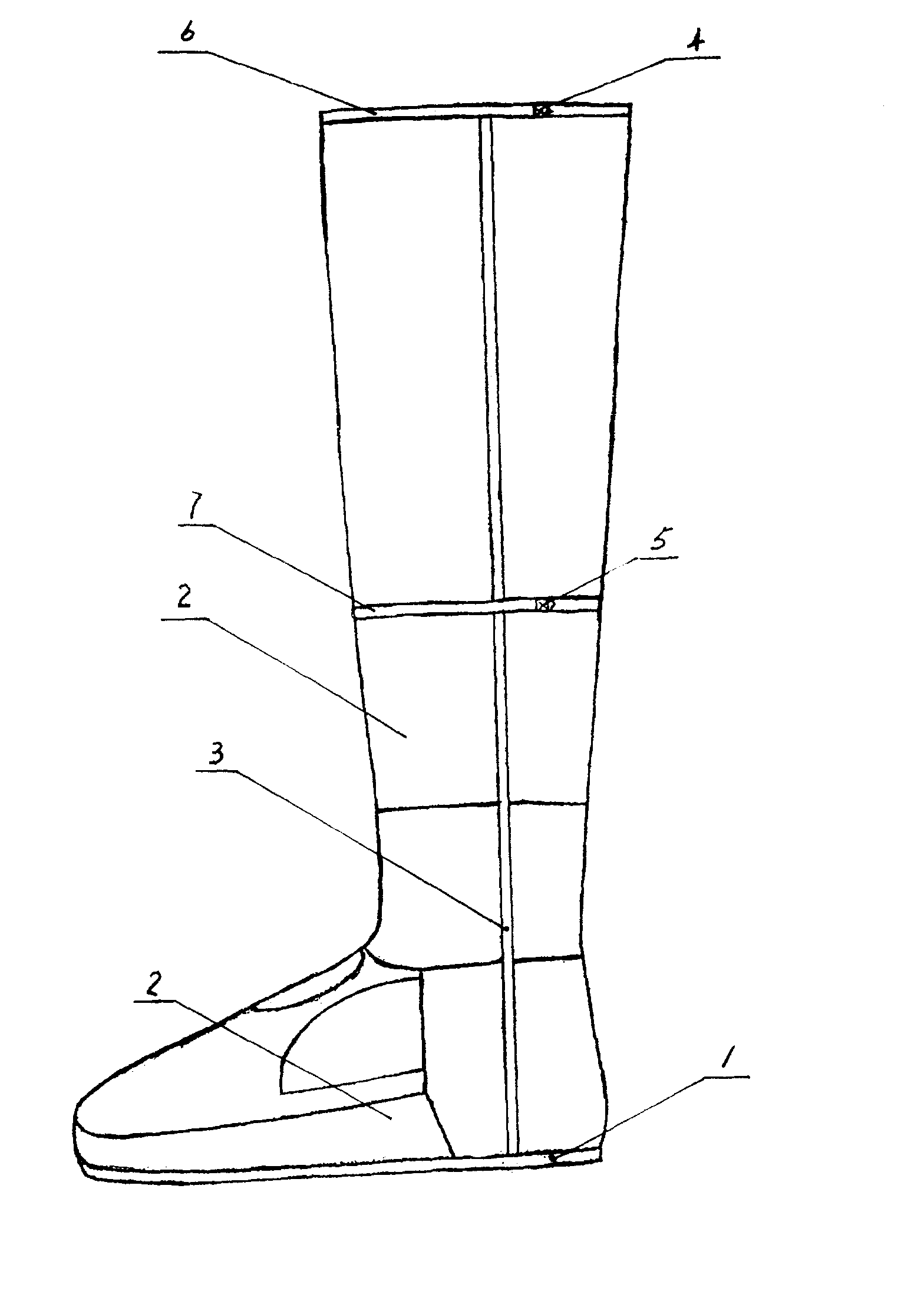
一种保暖骑行靴
图片尺寸1508x1681
手工棉鞋鞋样怎么剪
图片尺寸640x480
靴子的绘制教程
图片尺寸700x3849
cn106263228b_可松紧脚背周围舒适穿着的靴子有效
图片尺寸1589x2454
京东触屏版
图片尺寸750x505
bjd娃娃鞋子系带靴子制作教程
图片尺寸654x899
护靴
图片尺寸1568x2208
背景技术:靴子是帮子略呈筒状高到踝骨以上的鞋,多穿着于冬季或偏冷的
图片尺寸480x1000
宝宝 雪地靴
图片尺寸960x1261
搜自网络,儿童棉靴图样2
图片尺寸700x933
靴子
图片尺寸2480x3507