额温枪内部结构图

从下面额温枪的结构图,可以看出电路器件有:led 显示屏,红外温度
图片尺寸500x453
额温枪的结构具体来看:人体发出红外辐射,经过透镜聚集,将红外线聚焦
图片尺寸1878x1408
拆解报告:braun博朗额温枪bnt400
图片尺寸1152x768
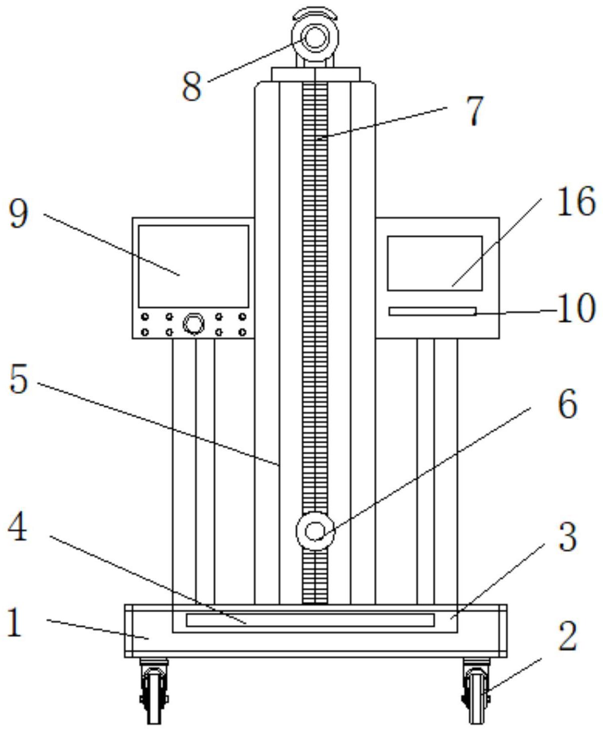
种病人体温采集用自助式额温枪,包括承载底座,采温结构和采温调节结构
图片尺寸1219x1479
一种新型非接触式额温枪的制作方法
图片尺寸1000x822
一种便于斜挎的额温枪结构的制作方法
图片尺寸956x1000
额温枪红外测温源代码原理图以及额温强设计原理等详细资料汇总开源
图片尺寸1080x1428
一种多功能红外线额温枪-爱企查
图片尺寸544x800
家有萌娃必备博朗耳温枪的正确打开方式
图片尺寸640x660
额温枪内部结构图
图片尺寸1080x618
官方货源包邮倍尔康非接触式电子体温计jxb182额温枪
图片尺寸790x1186
一种具有温度对比结构的红外额温枪的制作方法
图片尺寸1000x962
一种具有防护结构的额温枪的制作方法
图片尺寸443x259
额温枪红外测温源代码原理图以及额温强设计原理等详细资料汇总开源
图片尺寸1005x594
电子体温计宝宝测量温度计发烧耳温仪器 家用儿童耳温枪irt6 额温枪
图片尺寸750x1860
一种额温枪用防脱落结构的制作方法
图片尺寸431x444
拆解90年代以前广泛使用的电接点水银温度计简单而不平凡精华一
图片尺寸962x1224
无需修改程序兼容所有模拟传感器额温枪完整方案破冰20元
图片尺寸689x782
通过层层解剖额温枪的结构及测温原理,让学子们认识到:看起来"高大上"
图片尺寸855x425
jziki键之康电子红外 外贸 礼品 婴儿额温枪测温仪红外线体温计
图片尺寸790x1154