风力致热

(图表·漫画)「环境」大风降温
图片尺寸3508x2480
一般风力致热效率可达40%,而风力提水和发电的效率只有15%
图片尺寸800x600
全球变暖还会增加台风(飓风),龙卷风的威力和持续时间,极热,极寒,洪涝
图片尺寸640x375
四川温室大棚暖风机,成都大棚热风机,温室升温设备价格
图片尺寸960x712
风力发电,风帆助航,风力提水,风力致热我中心联合杭州协能科技股份
图片尺寸400x266
大风降温警报三连发 河北大部最低温下降4℃至6
图片尺寸500x340
第8章 风力致热课件_第1页
图片尺寸920x690
(财经 .
图片尺寸354x319
高中化学目录 人教版_人教版高中化学风能知识的拓展
图片尺寸354x319
风力提水与风力致热
图片尺寸357x500
气象科普:捉摸不透的大风_我国_空气_风力
图片尺寸800x746
热!3kw 5kw 小型家用 2千瓦垂直轴风力发电机出售
图片尺寸669x600
重庆邦泰发电设备有限公司
图片尺寸1172x758
一般风力致热效率可达40%,而风力提水和发电的效率只有15%
图片尺寸800x482
效率高,制造成本低廉的风力制热装备,可广泛用于家居热水生产,大棚
图片尺寸350x250
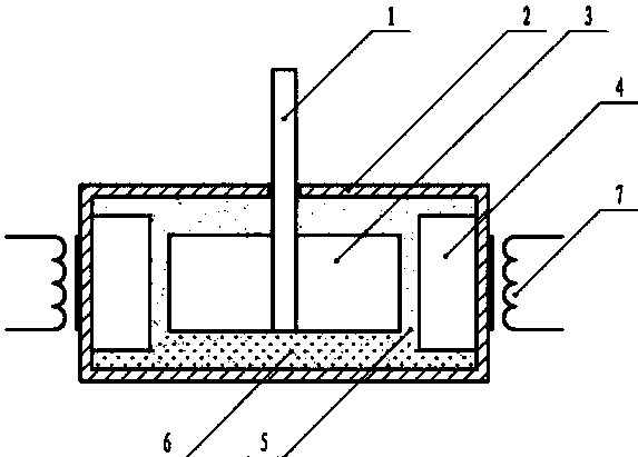
cn108799001a_一种搅拌液体磁阻复合型风力致热装置及其致热方法在审
图片尺寸573x411
大风降温齐袭山东_热点聚焦_日照_齐鲁网
图片尺寸320x240
风力制热
图片尺寸268x216
"绿色革命:风能源已成为全球最为倚重的清洁能源"
图片尺寸640x300
探索科学风力机是怎么直接转换热能来看这四种办法
图片尺寸800x516