风机蜗壳简易画法

一种风机蜗壳结构的制作方法
图片尺寸996x1000
离心通风机蜗壳型线绘制方法的改进
图片尺寸383x327
风机蜗壳02
图片尺寸541x537
一种用于吸油烟机的离心风机蜗壳
图片尺寸888x1000
4一72离心风机8c蜗壳侧板如放样
图片尺寸433x432
一种风机蜗壳-爱企查
图片尺寸588x799
空气悬浮风机蜗壳的制作方法
图片尺寸742x1000
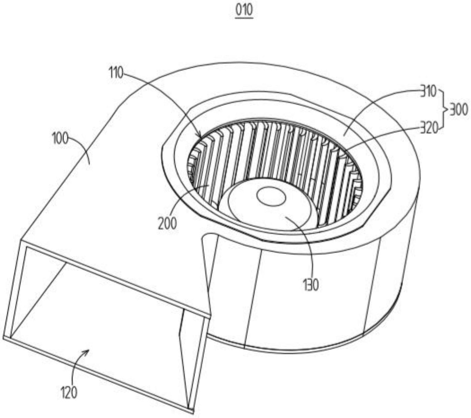
一种离心风机的蜗壳结构的制作方法
图片尺寸868x1000
风机蜗壳
图片尺寸1385x1292
风力涡轮机图标图像
图片尺寸861x1200
空调器的离心风机蜗壳
图片尺寸490x359
cn207162680u_一种抽油烟机的蜗壳风机有效
图片尺寸1711x1905
一种风机蜗壳
图片尺寸1000x668
一种新型风机蜗壳的制作方法
图片尺寸444x341
cn212899033u_一种离心风机的蜗壳及空调器有效
图片尺寸1642x1457
一种风机蜗壳组件的制作方法
图片尺寸942x1000
一种风机蜗壳结构
图片尺寸442x444
cn101462226a_一种吸油烟机风机蜗壳的加工方法有效
图片尺寸1808x1517
cn109681469a_离心风机蜗壳结构
图片尺寸1000x979
一种离心风机的螺旋蜗壳的制作方法
图片尺寸1000x670