风机蜗壳设计原理

一种离心风机的蜗壳离心风机及电器
图片尺寸1562x1819
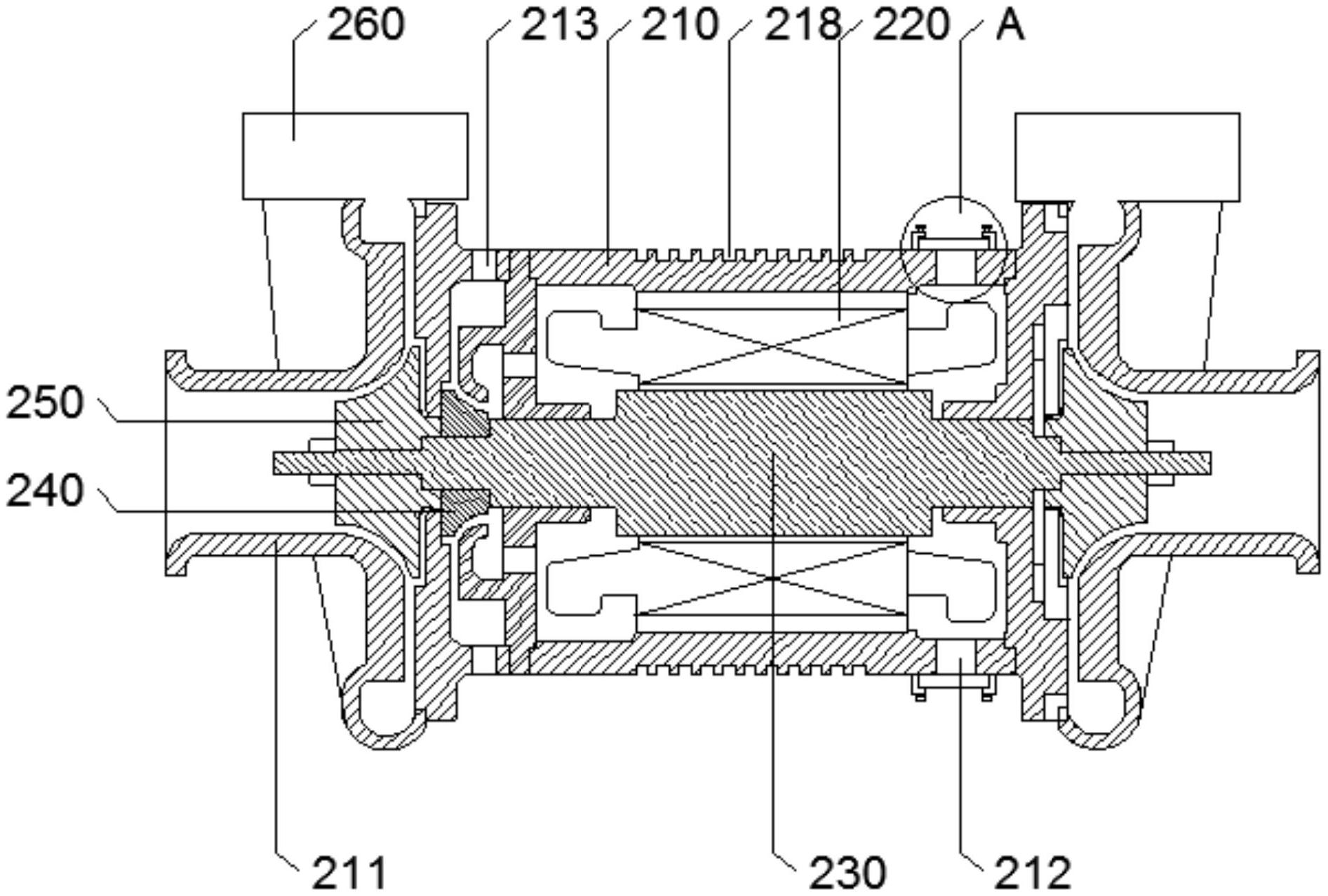
一种双蜗壳气悬浮离心鼓风机结构
图片尺寸1893x1278
一种风机蜗壳结构的制作方法
图片尺寸996x1000
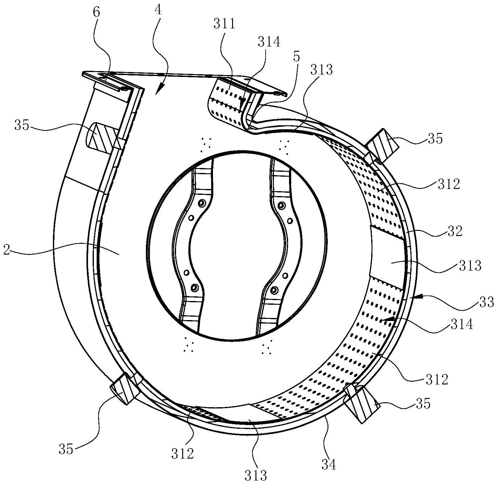
一种蜗壳降噪机构及离心风机的制作方法与工艺
图片尺寸898x1000
旋流风机结构零部件图
图片尺寸685x500
某企业wpf10离心风机详图
图片尺寸820x578
风机9-19-10风机基本叶轮蜗壳图
图片尺寸1131x814
排烟效率低,主要原因是抽油烟机内的蜗壳风机结构设计不合理,蜗壳风机
图片尺寸897x1000
cn207162680u_一种抽油烟机的蜗壳风机有效
图片尺寸1711x1905
cn213116853u_蜗壳及离心风机及家用电器
图片尺寸1644x1409
一种油烟机风机蜗壳的制作方法
图片尺寸973x1000
一种离心风机的蜗壳结构的制作方法
图片尺寸867x1000
cn112253542a_蜗壳,应用有该蜗壳的离心风机,吸油烟机及其控制方法在
图片尺寸1618x1579
一种离心式风机蜗壳结构
图片尺寸425x443
一种风力灭火机风机蜗壳的制作方法
图片尺寸974x1000
一种离心风机用消声蜗壳的制作方法
图片尺寸1000x759
一种通风机蜗壳的制作方法
图片尺寸443x339
离心风机设计原理图纸
图片尺寸1020x768
在于克服现有技术中的风机组件中的电机安装板与风道蜗壳是分体设计
图片尺寸935x1000
一种抽油烟机的蜗壳风机的制作方法
图片尺寸1000x839