风电叶片内部结构图

基本构造1,叶片的基本构造和内部结构一,风力发电机组叶片介绍:为保证
图片尺寸556x252
风机叶片材料的gl认证技术规范
图片尺寸414x359
叶片主要构成
图片尺寸1140x572
图1 双馈型风力发电机基本结构
图片尺寸703x469
等专业领域知识及经验叶片的结构设计会直接影响到风电机组的发电效率
图片尺寸554x312
风电叶片行业可行性报告
图片尺寸893x313
离心风机的叶轮结构图
图片尺寸1440x888
图表1:风电叶片组成
图片尺寸559x323
的风电机组就是一个高高的杆上带着一个大扇叶,扇叶在专业上叫叶片,靠
图片尺寸676x399
风力发电机组的结构如下
图片尺寸640x430
风电叶片外观和内部结构示意图如图1所示,叶片主要由上下蒙皮,主梁和
图片尺寸660x523
为什么风力发电机的扇叶那么窄会不会漏掉很多原本可以产生电力的风
图片尺寸547x319
风力发电叶片制作工艺介绍
图片尺寸539x235
内部结构↓↓来了解一下这种2叶片风机的制造与安装模拟成立于
图片尺寸900x457
中国风力发电机一台可赚4个亿
图片尺寸640x358
风机叶片原理和结构供参习.doc
图片尺寸792x1120
把装有永久磁极的内转子安装在机座的转轴上,见图3 把装有叶片的轮毂
图片尺寸640x480
cn102338044a_一种风力发电装置的扇叶结构失效
图片尺寸2807x1699
图为小型风力发电机内部结构图1,小型风力发电机组的组成与一般的发电
图片尺寸663x491
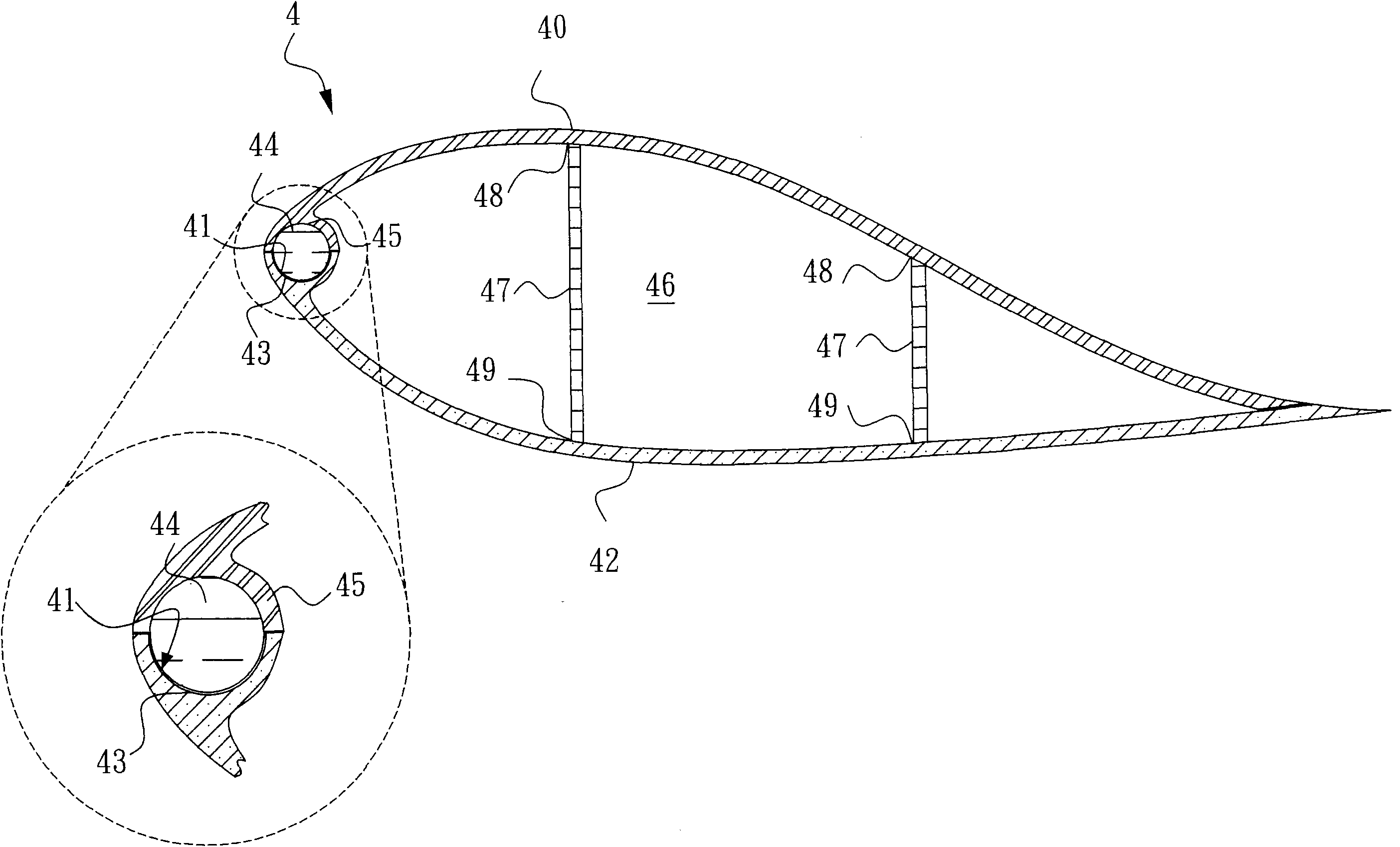
一种气囊式风电叶片结构的制作方法
图片尺寸1000x648